|
На данной странице представлена ознакомительная часть выбранного Вами патента
Для получения более подробной информации о патенте (полное описание, формула изобретения и т.д.) Вам необходимо сделать заказ. Нажмите на «Корзину»
| СПОСОБ ИЗГОТОВЛЕНИЯ ЗАГОТОВОК СНАРЯДНЫХ КОРПУСОВ |  |
Номер публикации патента: 2179491 |  |
| Редакция МПК: | 7 | | Основные коды МПК: | B21K021/06 F42B012/00 | | Аналоги изобретения: | GB 1508532 А, 26.04.1978. RU 2088393 C1, 27.08.1997. SU 721245 А, 15.03.1980. FR 2280460 A1, 02.04.1976. |
| Имя заявителя: | Государственное научно-производственное предприятие "ТЕМП" | | Изобретатели: | Капустин А.И. Шипунов А.Г. Ратнер А.Д. Березин С.М. Гришин В.М. Осипова Л.Ф. Кочнов А.И. | | Патентообладатели: | Государственное научно-производственное предприятие "ТЕМП" |
Реферат |  |
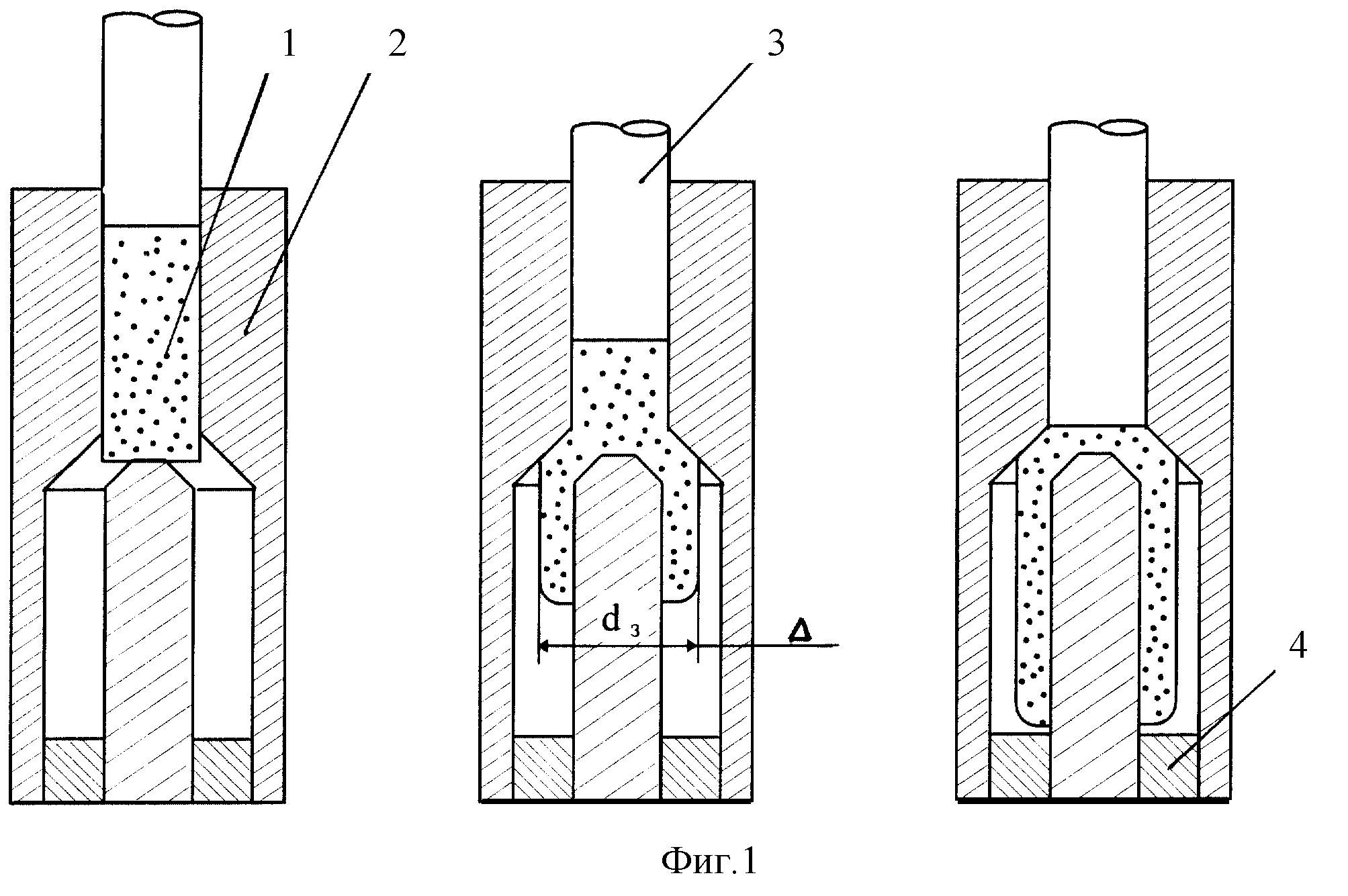
Изобретение относится к обработке металлов давлением, а более конкретно к способам штамповки заготовок снарядных корпусов. В способе изготовления снарядных корпусов, включающем выдавливание стальной заготовки в матрице с помощью пуансона, согласно изобретению осуществляют прямое выдавливание пресс-штемпелем, при котором пуансон жестко закреплен по оси матрицы, причем в процессе выдавливания между внешней поверхностью штампуемой заготовки и внутренней поверхностью матрицы образуют зазор, который сохраняют в процессе выдавливания, после чего проводят вытяжку с утонением через кольцевые матрицы с последующей механической обработкой наружной поверхности и обжатием головной части корпуса. Предпочтительно стальную заготовку перед прямым выдавливанием и обжимом головной части нагревают до температуры деформирования. Предпочтительно заготовку из легкодеформируемого материала, например из низкоуглеродистой стали, подвергают прямому выдавливанию и обжиму головной части при комнатной температуре. Способ обеспечивает получение снарядных заготовок повышенной точности без механической обработки каморы. 2 з.п.ф-лы, 6 ил.
|