Промышленная Сибирь Ярмарка Сибири Промышленность СФО Электронные торги НОУ-ХАУ Электронные магазины Карта сайта
 
 

Поиск патентов

Как искать?
Реферат
Название
Публикация
Регистрационный номер
Имя заявителя
Имя изобретателя
Имя патентообладателя

    





Оформить заказ и задать интересующие Вас вопросы Вы можете напрямую c 6-00 до 14-30 по московскому времени кроме сб, вс. whatsapp 8-950-950-9888

На данной странице представлена ознакомительная часть выбранного Вами патента

Для получения более подробной информации о патенте (полное описание, формула изобретения и т.д.) Вам необходимо сделать заказ. Нажмите на «Корзину»


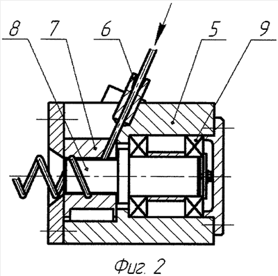
УСТРОЙСТВО ДЛЯ НАВИВКИ ВИНТОВОЙ СПИРАЛИ

Номер публикации патента: 2422234

Вид документа: C2 
Страна публикации: RU 
Рег. номер заявки: 2009121066/02 
  Сделать заказПолучить полное описание патента

Редакция МПК: 
Основные коды МПК: B21F003/06    
Аналоги изобретения: RU 2338617 C1, 20.11.2008. RU 2257978 C1, 10.08.2005. SU 1440509 A1, 30.11.1988. DE 1902623 A, 20.01.1972. 

Имя заявителя: Федеральное государственное унитарное предприятие "Научно-производственное предприятие "Прогресс" (ФГУП "НПП "Прогресс") (RU) 
Изобретатели: Пышнограй Владимир Владимирович (RU)
Соколов Евгений Станиславович (RU)
Балашенко Валерий Михайлович (RU) 
Патентообладатели: Федеральное государственное унитарное предприятие "Научно-производственное предприятие "Прогресс" (ФГУП "НПП "Прогресс") (RU) 

Реферат


Изобретение относится к машиностроению и может быть использовано при изготовлении винтовых спиралей большой длины, в частности, для трубных конвейеров при транспортировке сыпучих материалов. Устройство состоит из установленных на станине устройства протяжки проволоки с приводом и профилирующего устройства, содержащего направляющую для проволоки и неподвижную оправку с роликом. На внутренней поверхности неподвижной оправки выполнена профилирующая канавка в виде одного полного витка навиваемой спирали, расстояние от поверхности которой до поверхности вращающегося ролика равно диаметру проволоки. Обеспечивается постоянное положение входной части профилирующей канавки и попадание проволоки в канавку без дополнительных регулировок и установок. Увеличивается надежность и упрощается эксплуатация. 1 з.п. ф-лы, 3 ил.

Дирекция сайта "Промышленная Сибирь"
Россия, г.Омск, ул.Учебная, 199-Б, к.408А
Сайт открыт 01.11.2000
© 2000-2018 Промышленная Сибирь
Разработка дизайна сайта:
Дизайн-студия "RayStudio"