Промышленная Сибирь Ярмарка Сибири Промышленность СФО Электронные торги НОУ-ХАУ Электронные магазины Карта сайта
 
 

Поиск патентов

Как искать?
Реферат
Название
Публикация
Регистрационный номер
Имя заявителя
Имя изобретателя
Имя патентообладателя

    





Оформить заказ и задать интересующие Вас вопросы Вы можете напрямую c 6-00 до 14-30 по московскому времени кроме сб, вс. whatsapp 8-950-950-9888

На данной странице представлена ознакомительная часть выбранного Вами патента

Для получения более подробной информации о патенте (полное описание, формула изобретения и т.д.) Вам необходимо сделать заказ. Нажмите на «Корзину»


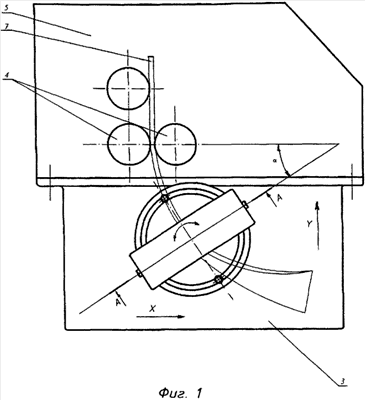
СПОСОБ ИЗГОТОВЛЕНИЯ СПРОФИЛИРОВАННОЙ ПО ВИНТОВОЙ ЛИНИИ ЛОПАТКИ КОЛЕНА СТАЛЬНОГО ТРУБОПРОВОДА И УСТРОЙСТВО ДЛЯ ЕГО ОСУЩЕСТВЛЕНИЯ

Номер публикации патента: 2365456

Вид документа: C2 
Страна публикации: RU 
Рег. номер заявки: 2007142808/02 
  Сделать заказПолучить полное описание патента

Редакция МПК: 
Основные коды МПК: B21D053/78    
Аналоги изобретения: RU 919798 А, 15.04.1982. SU 252067 А, 10.09.1969. RU 2118737 С1, 10.09.1998. US 3981646 А, 21.09.1976. 

Имя заявителя: Федеральное агентство по образованию Государственное образовательное учреждение высшего профессионального образования Российский государственный университет нефти и газа им. И.М. Губкина (RU) 
Изобретатели: Карелин Игорь Николаевич (RU)
Горбунов Василий Сергеевич (RU)
Петренко Наталья Леонидовна (RU) 
Патентообладатели: Федеральное агентство по образованию Государственное образовательное учреждение высшего профессионального образования Российский государственный университет нефти и газа им. И.М. Губкина (RU) 

Реферат


Изобретение относится к области обработки давлением и может быть использовано для изготовления лопатки колена стального трубопровода, спрофилированной по винтовой линии. Стальную полосу подают посредством валков узла подачи с профилем, идентичным профилю лопатки, под заданным углом гибки в изгибающе-закручивающий валковый узел, установленный под углом закрутки, прямо пропорциональным углу гибки. Производят подачу стальной полосы в изгибающе-закручивающий валковый узел на определенном расстоянии от поверхности полосы до оси ближайшего валка упомянутого узла. При этом механизм перемещения держателя в направлении подачи полосы и в перпендикулярном направлении выполнен из условия обеспечения связи величин перемещения между собой определенным соотношением. Повышается качество и производительность. 2 н.п. ф-лы, 3 ил.

Дирекция сайта "Промышленная Сибирь"
Россия, г.Омск, ул.Учебная, 199-Б, к.408А
Сайт открыт 01.11.2000
© 2000-2018 Промышленная Сибирь
Разработка дизайна сайта:
Дизайн-студия "RayStudio"