|
На данной странице представлена ознакомительная часть выбранного Вами патента
Для получения более подробной информации о патенте (полное описание, формула изобретения и т.д.) Вам необходимо сделать заказ. Нажмите на «Корзину»
| УСТРОЙСТВО И СПОСОБ ОХЛАЖДЕНИЯ ГОРЯЧЕКАТАНОГО СТАЛЬНОГО ПРУТКА |  |
Номер публикации патента: 2179588 |  |
| Редакция МПК: | 7 | | Основные коды МПК: | C21D009/573 C21D001/64 B21D045/02 | | Аналоги изобретения: | ЕР 0516502 А1, 02.12.1992. ЕР 0069616 А1,12.01.1983. ЕР 0359279 А, 21.03.1990. US 4423856, 03.01.1984. FR 2297079, 10.09.1976. EP 0216434 A1, 01.04/1987. |
| Имя заявителя: | МОРГАН КОНСТРАКШН КОМПАНИ (US) | | Изобретатели: | КИФЕР Брюс В. (US) БРЕЙН Филип Дж. (US) КАЙЦЕР Питер Л. (US) | | Патентообладатели: | МОРГАН КОНСТРАКШН КОМПАНИ (US) | | Номер конвенционной заявки: | 08/838,512 | | Страна приоритета: | US | | Патентный поверенный: | Иванова Ольга Филипповна |
Реферат |  |
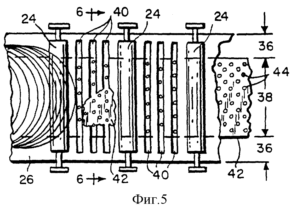
Изобретение относится к прокатным станам, в частности к усовершенствованию устройства и способа, используемых для контролируемого охлаждения горячекатаного стального прутка. Техническим результатом изобретения является обеспечение подачи охлаждающего воздуха на все сегменты колец с равномерно расположенными интервалами в соединении с уменьшением скорости потока воздуха в центральной зоне конвейера, где плотность колец меньше, чем в краевых зонах конвейера. Средство для формирования витков образует из горячекатаного стального прутка непрерывную последовательность колец. Кольца размещают на конвейере для транспортировки в наложенном друг на друга состоянии вдоль пути, проходящего через по меньшей мере одну зону охлаждения. Плотность колец при этом расположении больше в краевых зонах конвейера по сравнению с плотностью колец в центральной зоне конвейера. Газообразную охлаждающую среду направляют вверх через наложенные друг на друга кольца, и экран или другой аналогичный, имеющий проходы элемент замедляет направленный вверх поток газообразной охлаждающей среды в центральной зоне конвейера. 2 с. и 6 з.п. ф-лы, 16 ил.
|