Промышленная Сибирь Ярмарка Сибири Промышленность СФО Электронные торги НОУ-ХАУ Электронные магазины Карта сайта
 
 

Поиск патентов

Как искать?
Реферат
Название
Публикация
Регистрационный номер
Имя заявителя
Имя изобретателя
Имя патентообладателя

    





Оформить заказ и задать интересующие Вас вопросы Вы можете напрямую c 6-00 до 14-30 по московскому времени кроме сб, вс. whatsapp 8-950-950-9888

На данной странице представлена ознакомительная часть выбранного Вами патента

Для получения более подробной информации о патенте (полное описание, формула изобретения и т.д.) Вам необходимо сделать заказ. Нажмите на «Корзину»


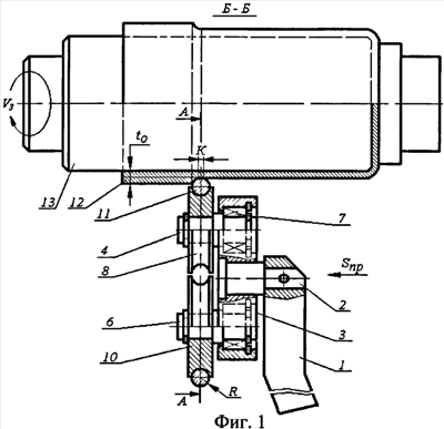
ДАВИЛЬНОЕ ОХВАТЫВАЮЩЕЕ УСТРОЙСТВО

Номер публикации патента: 2411099

Вид документа: C1 
Страна публикации: RU 
Рег. номер заявки: 2009135516/02 
  Сделать заказПолучить полное описание патента

Редакция МПК: 
Основные коды МПК: B21D022/16    
Аналоги изобретения: МОГИЛЬНЫЙ Н.И. Ротационная вытяжка оболочковых деталей на станках. - М.: Машиностроение, 1983, с.147, рис.9.6. SU 1558534 A, 23.04.1990. RU 2212299 C1, 20.09.2003. RU 2277039 C1, 27.05.2006. DE 3843211 A, 28.06.1990. 

Имя заявителя: Государственное образовательное учреждение высшего профессионального образования "Орловский государственный технический университет" (ОрелГТУ) (RU) 
Изобретатели: Степанов Юрий Сергеевич (RU)
Киричек Андрей Викторович (RU)
Мальцев Анатолий Юрьевич (RU)
Афанасьев Борис Иванович (RU)
Фомин Дмитрий Сергеевич (RU)
Самойлов Николай Николаевич (RU)
Тарасов Дмитрий Евгеньевич (RU)
Бурцев Василий Сергеевич (RU) 
Патентообладатели: Государственное образовательное учреждение высшего профессионального образования "Орловский государственный технический университет" (ОрелГТУ) (RU) 

Реферат


Изобретение относится к обработке металлов давлением, в частности, для обкатки полых изделий. Заготовке сообщают вращательное движение вокруг собственной оси, а давильному охватывающему устройству - продольной подачи. Давильное охватывающее устройство содержит установленный в державке посредством оси давильный инструмент, состоящий из корпуса в виде плиты, в которой установлены на осях на подшипниках качения два рабочих ролика и один натяжной, на периферии которых выполнена канавка, несущая давильный элемент в виде кольца, изготовленного из металлической проволоки круглого сечения и обладающего пружинящими свойствами. При этом давильное усилие на заготовку передают двумя рабочими роликами и участком давильного кольца, расположенным между рабочими роликами, с частичным охватом заготовки с углом охвата. Причем опору одного рабочего ролика монтируют в корпусе неподвижно, а другого - с возможностью регулирования угла охвата. Расширяются технологические возможности, повышается качество обрабатываемой поверхности. 2 ил.

Дирекция сайта "Промышленная Сибирь"
Россия, г.Омск, ул.Учебная, 199-Б, к.408А
Сайт открыт 01.11.2000
© 2000-2018 Промышленная Сибирь
Разработка дизайна сайта:
Дизайн-студия "RayStudio"