Промышленная Сибирь Ярмарка Сибири Промышленность СФО Электронные торги НОУ-ХАУ Электронные магазины Карта сайта
 
 

Поиск патентов

Как искать?
Реферат
Название
Публикация
Регистрационный номер
Имя заявителя
Имя изобретателя
Имя патентообладателя

    





Оформить заказ и задать интересующие Вас вопросы Вы можете напрямую c 6-00 до 14-30 по московскому времени кроме сб, вс. whatsapp 8-950-950-9888

На данной странице представлена ознакомительная часть выбранного Вами патента

Для получения более подробной информации о патенте (полное описание, формула изобретения и т.д.) Вам необходимо сделать заказ. Нажмите на «Корзину»


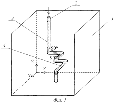
УСТРОЙСТВО ДЛЯ МНОГОМАРШРУТНОГО РАВНОКАНАЛЬНОГО УГЛОВОГО ПРЕССОВАНИЯ ЗАГОТОВКИ

Номер публикации патента: 2477662

Вид документа: C2 
Страна публикации: RU 
Рег. номер заявки: 2011106081/02 
  Сделать заказПолучить полное описание патента

Редакция МПК: 
Основные коды МПК: B21C025/02   B21J013/02    
Аналоги изобретения: K.Nakashima, Z.Horita, M.Nemoto, T.G.Langdon. Development of a multi-pass facility for equal-channel angular pressing to high total strains // Materials Science and Engineering A, Volume 281, Issues 1-2, 15 April 2000, Pages 82-87. RU 2252094 C1, 10.09.2008. RU 2128095 C1, 27.03.1999. JP 2003096549 A, 03.04.2003. 

Имя заявителя: Учреждение Российской академии наук Институт физико-технических проблем Севера им. В.П. Ларионова Сибирского отделения РАН (RU) 
Изобретатели: Иванов Афанасий Михайлович (RU) 
Патентообладатели: Учреждение Российской академии наук Институт физико-технических проблем Севера им. В.П. Ларионова Сибирского отделения РАН (RU) 

Реферат


Изобретение относится к области создания устройств, предназначенных для интенсивной пластической деформации материалов методом равноканального углового прессования. Устройство содержит матрицу с выполненными в ней каналами, углы пересечения которых составляют по 90° каждый, и пуансон. Каналы выполнены во взаимно перпендикулярных плоскостях YZ, XY и XZ с обеспечением маршрутов прессования BC+C+C+BC или В С в 4 прохода. В результате обеспечивается высокая интенсивность пластической деформации материалов. 2 ил.

Дирекция сайта "Промышленная Сибирь"
Россия, г.Омск, ул.Учебная, 199-Б, к.408А
Сайт открыт 01.11.2000
© 2000-2018 Промышленная Сибирь
Разработка дизайна сайта:
Дизайн-студия "RayStudio"