|
На данной странице представлена ознакомительная часть выбранного Вами патента
Для получения более подробной информации о патенте (полное описание, формула изобретения и т.д.) Вам необходимо сделать заказ. Нажмите на «Корзину»
| МАШИНА ДЛЯ ОЧИСТКИ НАРУЖНОЙ ПОВЕРХНОСТИ ТРУБОПРОВОДА |  |
Номер публикации патента: 2170631 |  |
| Редакция МПК: | 7 | | Основные коды МПК: | B08B009/023 | | Аналоги изобретения: | SU 98499 A, 22.04.1958. SU 1380810 A1, 15.03.1988. SU 1472161 A1, 15.04.1989. US 5005245 A, 09.04.1991. EP 0000808 A, 21.02.1979. |
| Имя заявителя: | Институт проблем транспорта энергоресурсов "ИПТЭР" | | Изобретатели: | Хасанов А.Х. Самматов Р.Л. Кульгильдин С.Г. Гумеров А.Г. Нафиков Р.А. | | Патентообладатели: | Институт проблем транспорта энергоресурсов "ИПТЭР" |
Реферат |  |
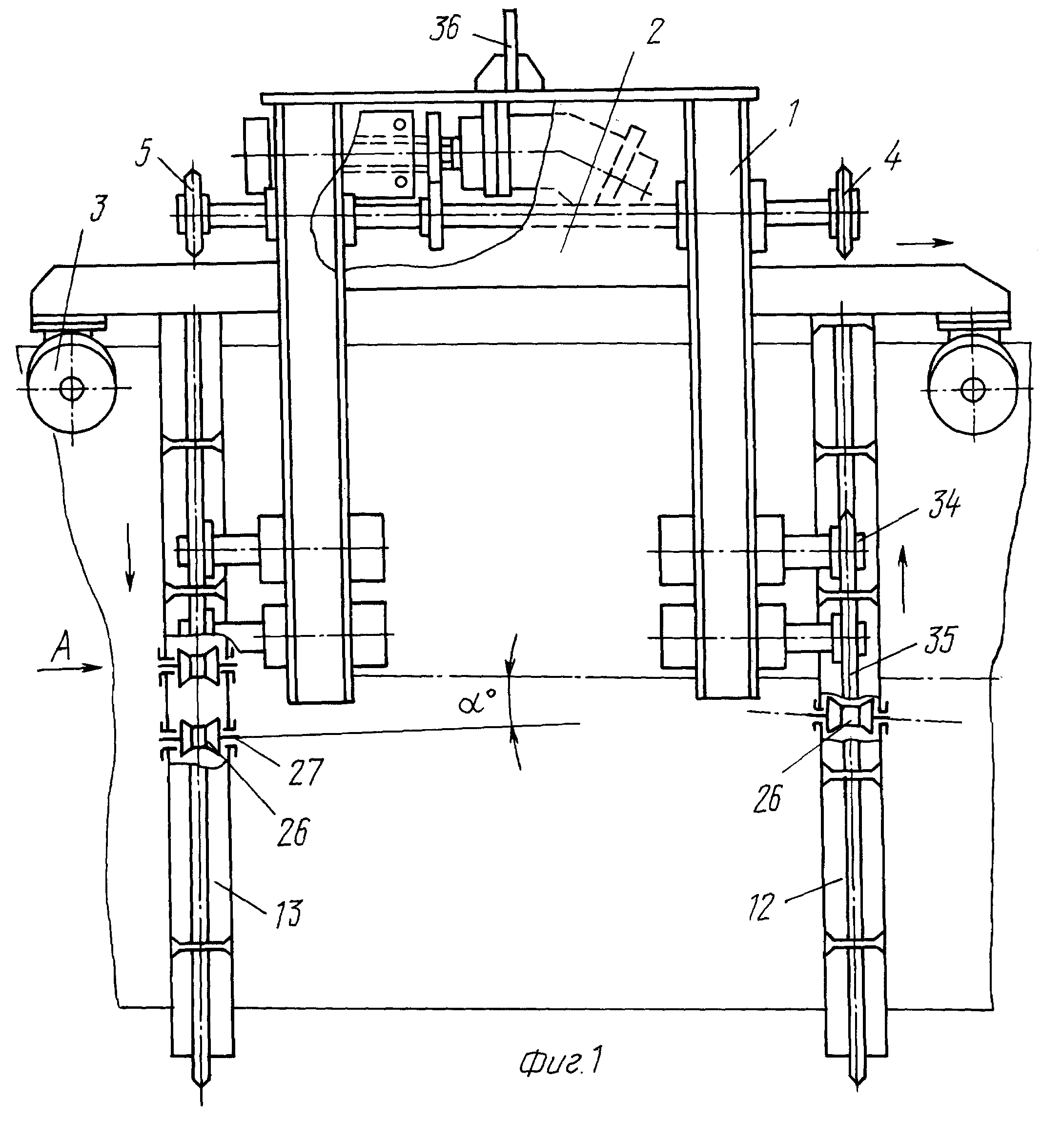
Изобретение относится к машинам для очистки поверхности труб от старой изоляции и грязи, а также поперечных и продольных швов. В изобретении решается задача непрерывного перемещения очистных инструментов вдоль оси очищаемого трубопровода и сокращения времени монтажа и демонтажа машины на ремонтируемый трубопровод. Машина состоит из каркаса с двумя боковинами на ходовых колесах. В каркасе размещен цепной привод носителя инструментов. Носитель инструментов выполнен в виде гибкого обруча, состоящего из шарнирно закрепленных П-образных секций с зубьями для цепи на наружной ее поверхности. В секциях размещены опорные ролики, оси которых раcположены под углом к продольной оси обруча. В результате обеспечивается вращение обруча по винтовой линии, т.е. перемещение обруча по оси трубопровода. При сборке соединяют концы обруча и концы приводной цепи без применения инструментов. 5 ил.
|