|
На данной странице представлена ознакомительная часть выбранного Вами патента
Для получения более подробной информации о патенте (полное описание, формула изобретения и т.д.) Вам необходимо сделать заказ. Нажмите на «Корзину»
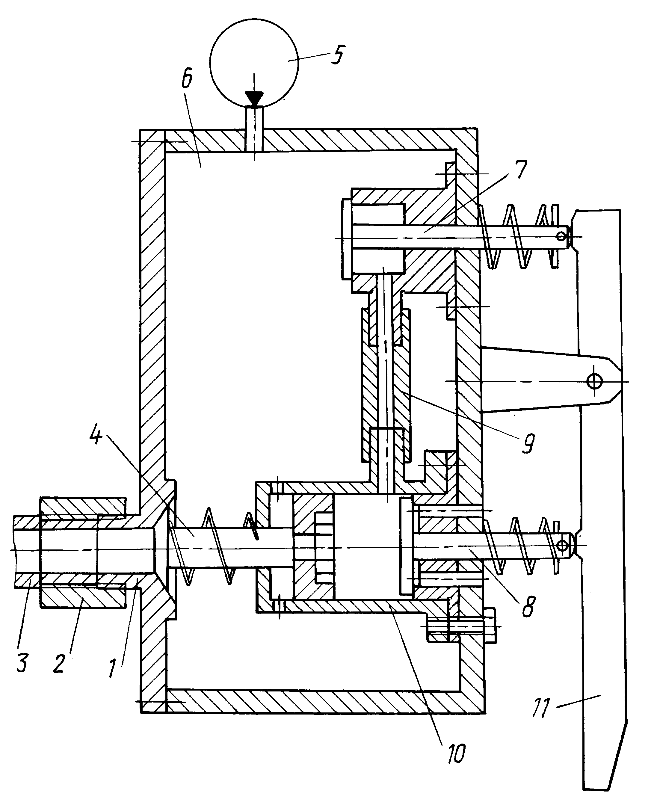
| УСТРОЙСТВО ДЛЯ ОЧИСТКИ ТРУБОПРОВОДНЫХ СИСТЕМ |  |
Номер публикации патента: 2168378 |  |
| Редакция МПК: | 7 | | Основные коды МПК: | B08B009/027 | | Аналоги изобретения: | US 1998902 A, 23.04.1935. SU 1588269 A3, 23.08.1990. SU 728948 A, 30.04.1980. CH 527004 A, 13.10.1972. DE 4430870 A1, 07.03.1996. |
| Имя заявителя: | Афанасьев Анатолий Ильич | | Изобретатели: | Афанасьев А.И. Харитоненко Д.Г. Патрин С.С. | | Патентообладатели: | Афанасьев Анатолий Ильич |
Реферат |  |
Устройство может быть использовано для очистки трубопроводных систем центрального отопления, местного отопления, водопровода, канализации от различных загрязнений в коммунально-бытовом хозяйстве и во всех отраслях народного хозяйства. Устройство состоит из магистрали нагнетания со смонтированным на ней средством крепления к очищаемой трубопроводной системе, запорного клапана, рукоятки управления, насоса и пневмоаккумулятора. Пневмоаккумулятор снабжен обратным и управляющим клапаном. Закрывающая часть запорного клапана выполнена конической формы, а открывающая часть запорного клапана выполнена цилиндрической формы. Диаметр цилиндрической и конической части запорного клапана, его масса, ход, давление аккумулятора и время открытия связаны зависимостями. 1 ил.
|