|
На данной странице представлена ознакомительная часть выбранного Вами патента
Для получения более подробной информации о патенте (полное описание, формула изобретения и т.д.) Вам необходимо сделать заказ. Нажмите на «Корзину»
| СЕПАРАТОР ДЛЯ РАЗДЕЛЕНИЯ СЫПУЧИХ МАТЕРИАЛОВ ПО УПРУГИМ СВОЙСТВАМ |  |
Номер публикации патента: 2165316 |  |
| Редакция МПК: | 7 | | Основные коды МПК: | B07B013/10 B07C005/34 | | Аналоги изобретения: | WO 87/07187 A1, 03.12.1987. SU 69858 A, 30.12.1947. SU 735330 A, 25.05.1980. SU 1632514 A1, 07.03.1991. SU 1592059 A1, 15.09.1990. SU 1787583 A1, 15.01.1993. GB 1177136 A, 07.06.1970. |
| Имя заявителя: | Всероссийский научно-исследовательский институт механизации сельского хозяйства | | Изобретатели: | Анискин В.И. Дринча В.М. Стрелков А.А. Зубаилов И.Г. | | Патентообладатели: | Всероссийский научно-исследовательский институт механизации сельского хозяйства |
Реферат |  |
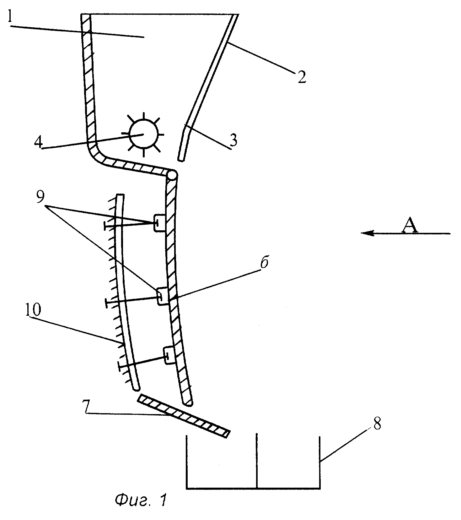
Изобретение относится к устройствам для разделения сыпучих материалов по упругости и может быть использовано в сельском хозяйстве, химической и строительной промышленности. Сепаратор включает загрузочный бункер, отражательную пластину и приемники продуктов разделения. В бункере установлен питающий валик, а между загрузочным бункером и отражательной пластиной - криволинейная пластина с радиусом кривизны, уменьшающимся от загрузочного конца к разгрузочному. Стенка бункера в зоне установки питающего валика со стороны разгрузки материала выполнена перфорированной. Изобретение повышает эффективность сепарации. 1 з.п. ф-лы, 2 ил.
|