Промышленная Сибирь Ярмарка Сибири Промышленность СФО Электронные торги НОУ-ХАУ Электронные магазины Карта сайта
 
 

Поиск патентов

Как искать?
Реферат
Название
Публикация
Регистрационный номер
Имя заявителя
Имя изобретателя
Имя патентообладателя

    





Оформить заказ и задать интересующие Вас вопросы Вы можете напрямую c 6-00 до 14-30 по московскому времени кроме сб, вс. whatsapp 8-950-950-9888

На данной странице представлена ознакомительная часть выбранного Вами патента

Для получения более подробной информации о патенте (полное описание, формула изобретения и т.д.) Вам необходимо сделать заказ. Нажмите на «Корзину»


СПОСОБ ОБЕСПЕЧЕНИЯ СНЕГОТАЯНИЯ И ФОНТАНА И УСТАНОВКА ДЛЯ ЕГО ОСУЩЕСТВЛЕНИЯ

Номер публикации патента: 2365429

Вид документа: C2 
Страна публикации: RU 
Рег. номер заявки: 2007122620/12 
  Сделать заказПолучить полное описание патента

Редакция МПК: 
Основные коды МПК: B05B017/08    
Аналоги изобретения: RU 2147940 С1, 27.04.2000. RU 2173744 С1, 20.09.2001. US 3110443 A, 12.11.1963. US 3337134 A, 22.08.1967. US 5235762 A, 17.08.1993. 

Имя заявителя: ОБЩЕСТВО С ОГРАНИЧЕННОЙ ОТВЕТСТВЕННОСТЬЮ "ЭДЛАЙН" (RU) 
Изобретатели: Холинов Алексей Игоревич (RU)
Харихин Александр Викторович (RU) 
Патентообладатели: ОБЩЕСТВО С ОГРАНИЧЕННОЙ ОТВЕТСТВЕННОСТЬЮ "ЭДЛАЙН" (RU) 

Реферат


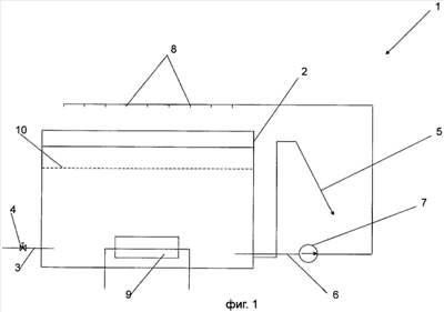
Изобретение относится к способам и установкам для обеспечения принудительного таяния снежной массы в зимнее время года, собранной специальными транспортными средствами с городских улиц и дорог, и в то же время, обеспечивающим работу фонтана в летнее время. Задачей изобретения является создание малогабаритной универсальной установки простой конструкции, удобной в эксплуатации и экономичной в работе, которая может использоваться без вложения больших финансовых затрат. Для этого в способе обеспечения снеготаяния и фонтана на одной установке, предусматривается в зимнее время года сбрасывание собранного снега в емкость с находящейся в ней водой, нагрев этой воды и подачу нагретой воды на снег посредством насадок, а в летний период - отключение нагрева воды емкости и подачу этой воды через насадки, осуществляя работу фонтана. Установка для снеготаяния и фонтана содержит емкость, сообщенную с источником воды и имеющую линию слива, насос, установленный с возможностью подачи к распределительным насадкам находящейся в емкости воды на снег в емкости при работе установки в качестве снеготаялки или над емкостью при работе в качестве фонтана, и источник нагрева воды, установленный с возможностью отключения для работы установки в качестве фонтана при работающем насосе. Техническим результатом изобретения является обеспечение возможности использования его для обслуживания сравнительно небольших площадей во дворах городов, в других районах местного значения и является простой и эффективной при решении задач по уборке снега в зимнее время и создания комфортных условий проживания в летнее время года. 2 н. и 13 з.п. ф-лы, 3 ил.

Дирекция сайта "Промышленная Сибирь"
Россия, г.Омск, ул.Учебная, 199-Б, к.408А
Сайт открыт 01.11.2000
© 2000-2018 Промышленная Сибирь
Разработка дизайна сайта:
Дизайн-студия "RayStudio"