Промышленная Сибирь Ярмарка Сибири Промышленность СФО Электронные торги НОУ-ХАУ Электронные магазины Карта сайта
 
 

Поиск патентов

Как искать?
Реферат
Название
Публикация
Регистрационный номер
Имя заявителя
Имя изобретателя
Имя патентообладателя

    





Оформить заказ и задать интересующие Вас вопросы Вы можете напрямую c 6-00 до 14-30 по московскому времени кроме сб, вс. whatsapp 8-950-950-9888

На данной странице представлена ознакомительная часть выбранного Вами патента

Для получения более подробной информации о патенте (полное описание, формула изобретения и т.д.) Вам необходимо сделать заказ. Нажмите на «Корзину»


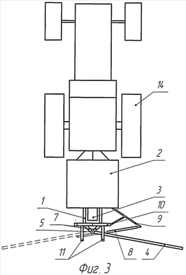
ОПРЫСКИВАТЕЛЬ

Номер публикации патента: 2403987

Вид документа: C1 
Страна публикации: RU 
Рег. номер заявки: 2009116067/05 
  Сделать заказПолучить полное описание патента

Редакция МПК: 
Основные коды МПК: B05B013/04   A01M007/00    
Аналоги изобретения: RU 2132131 C1, 27.06.1999. WO 2007090989 A2, 16.08.2007. RU 2314686 C1, 20.01.2008. RU 58856 U1, 10.12.2006. US 4844346 A, 04.07.1989. 

Имя заявителя: Ожерельев Виктор Николаевич (RU),
Кузнецов Владимир Васильевич (RU),
Ожерельева Нина Васильевна (RU),
Ожерельева Марина Викторовна (RU),
Кравцова Людмила Петровна (RU) 
Изобретатели: Ожерельев Виктор Николаевич (RU)
Кузнецов Владимир Васильевич (RU)
Ожерельева Нина Васильевна (RU)
Ожерельева Марина Викторовна (RU)
Кравцова Людмила Петровна (RU) 
Патентообладатели: Ожерельев Виктор Николаевич (RU)
Кузнецов Владимир Васильевич (RU)
Ожерельева Нина Васильевна (RU)
Ожерельева Марина Викторовна (RU)
Кравцова Людмила Петровна (RU) 

Реферат


Изобретение относится к сельхозмашиностроению. В опрыскивателе вертикальная поворотная штанга (4) с распылителями выполнена Г-образной с отгибом верхнего конца вниз на угол, близкий к 45°, по отношению к ее горизонтальной части. Штанга имеет возможность поворота по отношению к продольно-вертикальной плоскости симметрии опрыскивателя на угол, близкий к ±90°. Вертикальные шарниры поворота штанги размещены сзади двух задних вертикальных стоек рамы (1), соединенных между собой кронштейнами шарниров (7). На вертикальных стойках рамы поярусно смонтированы пары продольных осей (11) для установки сменных горизонтальных штанг, предназначенных для обработки низкостебельных культур. Верхний поворотный шарнир Г-образной штанги расположен между ярусами продольных осей. Вертикальные стойки рамы (1) соединены в верхней части коленчатой поперечиной (10), снабженной на концах крепежными отверстиями для монтажа удерживающих сменные горизонтальные штанги растяжек. Кронштейн (9) крепления гидроцилиндра (8) поворота вертикальной штанги смонтирован одним концом на емкости (2), а один из шарниров (5) поворота штанги снабжен сайлент-блоком. Техническим результатом изобретения является существенное расширение функциональных возможностей опрыскивателя, что делает его применение экономически обоснованным в небольших ягодоводческих хозяйствах с широким ассортиментом ягодных и полевых культур. 4 ил.

Дирекция сайта "Промышленная Сибирь"
Россия, г.Омск, ул.Учебная, 199-Б, к.408А
Сайт открыт 01.11.2000
© 2000-2018 Промышленная Сибирь
Разработка дизайна сайта:
Дизайн-студия "RayStudio"