Промышленная Сибирь Ярмарка Сибири Промышленность СФО Электронные торги НОУ-ХАУ Электронные магазины Карта сайта
 
 

Поиск патентов

Как искать?
Реферат
Название
Публикация
Регистрационный номер
Имя заявителя
Имя изобретателя
Имя патентообладателя

    





Оформить заказ и задать интересующие Вас вопросы Вы можете напрямую c 6-00 до 14-30 по московскому времени кроме сб, вс. whatsapp 8-950-950-9888

На данной странице представлена ознакомительная часть выбранного Вами патента

Для получения более подробной информации о патенте (полное описание, формула изобретения и т.д.) Вам необходимо сделать заказ. Нажмите на «Корзину»


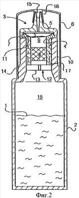
ЕМКОСТЬ ДЛЯ ХРАНЕНИЯ КАПЕЛЬНО ДОЗИРУЕМОЙ ЖИДКОСТИ, ОБРАТИМО ДЕФОРМИРУЕМАЯ В РЕЗУЛЬТАТЕ ВСАСЫВАНИЯ ВОЗДУХА

Номер публикации патента: 2385774

Вид документа: C2 
Страна публикации: RU 
Рег. номер заявки: 2007101567/11 
  Сделать заказПолучить полное описание патента

Редакция МПК: 
Основные коды МПК: B05B011/04   B65D047/18    
Аналоги изобретения: US 6336571 В1, 08.01.2002. US 2004074925 А1, 22.04.2004. US 5249712 А, 05.10.1993. US 5310094 А, 10.05.1994. ЕР 0376168 А2, 04.07.1990. RU 35533 U1, 20.01.2004. 

Имя заявителя: ЛАБОРАТУАР ТЕА (FR) 
Изобретатели: ФОРЬЕ Мишель (FR) 
Патентообладатели: ЛАБОРАТУАР ТЕА (FR) 
Приоритетные данные: 24.06.2004 FR 0407042 

Реферат


Изобретение относится к области расфасовки и раздачи жидкостей, таких как фармацевтические растворы, в частности глазные капли. Емкость содержит резервуар со стенкой, выполненной с возможностью деформации вручную для выдачи жидкости (1) при надавливании на стенку (2), и раздаточную головку (3). Полый корпус (4) раздаточной головки (3) снабжен носиком (5) для выдачи жидкости (1). Гидрофобная микропористая пробка (8) раздаточной головки расположена за резервуаром. Емкость снабжена съемным колпачком (6) для герметичного закрытия носика (5). Пробка (8) в сочетании с колпачком (6) препятствует самопроизвольному истечению жидкости (1) в сторону носика (5) из объема (15) емкости. Жидкость (1) из объема (15) емкости свободно вытекает через пробку (8), когда носик (5) открыт для выдачи требуемой порции жидкости (1) посредством нажатия на стенку (2) емкости. Стенка резервуара выполнена с возможностью обратимой деформации в результате всасывания воздуха внутри емкости (2) с последующим самопроизвольным возвратом емкости к первоначальной форме после выпуска жидкости (1). Колпачок (6) выполнен с возможностью воздухонепроницаемого закрытия носика. Когда колпачок (6) открыт, пробка (8) пропускает всасываемый воздух в указанный объем (15) для хранения вследствие упругого возврата стенки (2) емкости к первоначальной форме. Корпус (4) раздаточной головки установлен внутри горлышка (10) неподвижно, а перед носиком (5) размещена антибактериальная фильтрующая мембрана (7). Мембрана (7) содержит гидрофильную часть для пропускания через себя жидкости под действием избыточного давления, создаваемого в емкости на ее стенку, и гидрофобную часть для пропускания через себя воздуха под действием разрежения, возникающего при прекращении нажатия на ее стенку. Технический результат направлен на упрощение конструкции устройства для хранения жидкости. 13 з.п. ф-лы, 3 ил.

Дирекция сайта "Промышленная Сибирь"
Россия, г.Омск, ул.Учебная, 199-Б, к.408А
Сайт открыт 01.11.2000
© 2000-2018 Промышленная Сибирь
Разработка дизайна сайта:
Дизайн-студия "RayStudio"