|
На данной странице представлена ознакомительная часть выбранного Вами патента
Для получения более подробной информации о патенте (полное описание, формула изобретения и т.д.) Вам необходимо сделать заказ. Нажмите на «Корзину»
| ГИДРОЦИКЛОН |  |
Номер публикации патента: 2173583 |  |
| Редакция МПК: | 7 | | Основные коды МПК: | B04C005/085 B03B005/32 | | Аналоги изобретения: | Справочник по обогащению руд. Подготовительные процессы./ Под ред. О.С.БОГДАНОВА. - М.: Недра, 1982, c.187-189, c.219, с.335. RU 2045346 C1, 10.10.1995. SU 1261709 A1, 07.10.1984. SU 552115 A, 25.03.1977. SU 1708413 A1, 30.01.1992. EP 0266669 А1, 11.05.1988. DE 4428123 А1, 15.02.1996. |
| Имя заявителя: | Зимин Алексей Владимирович | | Изобретатели: | Зимин А.В. | | Патентообладатели: | Зимин Алексей Владимирович Совместное предприятие в форме закрытого акционерного общества "Изготовление, внедрение, сервис" |
Реферат |  |
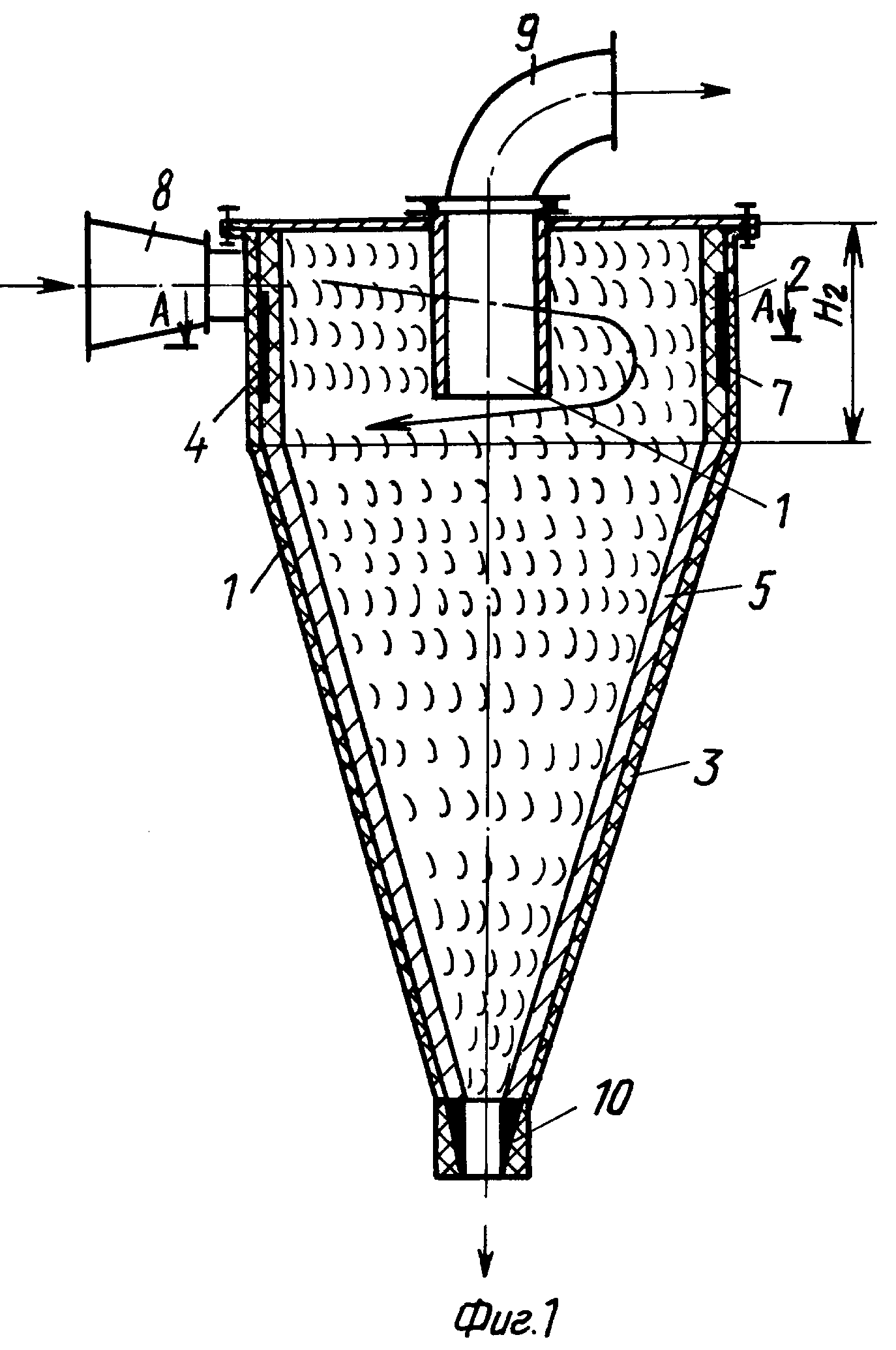
Изобретение может быть использовано в горнообогатительной, химической, строительной и других отраслях промышленности. Гидроциклон решает задачу повышения надежности работы устройства путем увеличения его ремонтопригодности при снижении трудозатрат, сокращении времени и стоимости ремонта. Гидроциклон содержит корпус, включающий цилиндрическую и коническую части с футеровкой всей внутренней поверхности из отдельных резиновых элементов с приспособлениями для крепления к корпусу, тангенциальный патрубок входа, сливной и песковый патрубки. Резиновые элементы цилиндрической части корпуса выполнены в виде прямоугольных пластин высотой, совпадающей с высотой цилиндрической части корпуса, с сечением в форме параллелограмма с острыми углами 30-55o для плотного прилегания их скошенных боковых сторон. Приспособления для крепления выполнены в виде магнитных элементов, площадь поверхности которых составляет не менее 30% площади прямоугольной пластины. 3 ил.
|