|
На данной странице представлена ознакомительная часть выбранного Вами патента
Для получения более подробной информации о патенте (полное описание, формула изобретения и т.д.) Вам необходимо сделать заказ. Нажмите на «Корзину»
| СВЕРХЦЕНТРИФУГА ДЛЯ РАЗДЕЛЕНИЯ ЖИДКОСТИ |  |
Номер публикации патента: 2182044 |  |
| Редакция МПК: | 7 | | Основные коды МПК: | B04B005/12 B04B001/04 B04B007/08 | | Аналоги изобретения: | RU 2150332 С1, 10.06.2000. SU 511109 А, 25.04.1976. SU 564887 А, 15.07.1977. |
| Имя заявителя: | Московский государственный университет прикладной биотехнологии | | Изобретатели: | Соколов В.И. Атабаев А.Б. | | Патентообладатели: | Московский государственный университет прикладной биотехнологии |
Реферат |  |
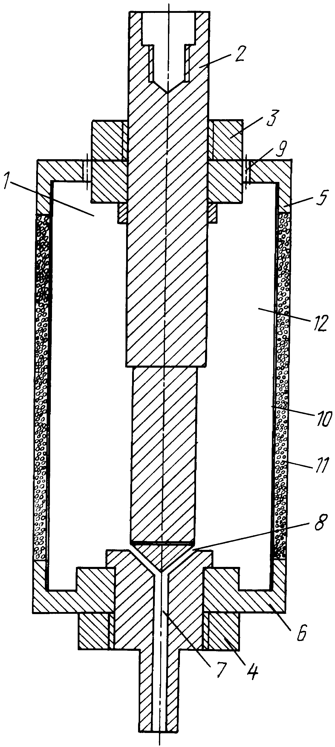
Изобретение относится к оборудованию для разделения жидкости и может быть использовано в различных отраслях промышленности. Сверхцентрифуга включает трубчатый ротор, установленный на валу и имеющий верхнюю и нижнюю крышки. В нижней части ротора расположено средство подачи исходной жидкости. Средство отвода осветленной жидкости размещено в его верхней части. Стенка ротора выполнена из воска. На его наружной поверхности может быть расположена навивка из полимерной нити или ленты. Конструкция сверхцентрифуги обеспечивает меньшую стоимость в сравнении с известной, а также повышает степень разделения жидкости и улучшает качество фракций. 1 з.п. ф-лы, 1 ил.
|