|
На данной странице представлена ознакомительная часть выбранного Вами патента
Для получения более подробной информации о патенте (полное описание, формула изобретения и т.д.) Вам необходимо сделать заказ. Нажмите на «Корзину»
| РАЗДЕЛЯЮЩЕЕ УСТРОЙСТВО РАДИОМЕТРИЧЕСКОГО СЕПАРАТОРА |  |
Номер публикации патента: 2163519 |  |
| Редакция МПК: | 7 | | Основные коды МПК: | B07C005/346 B03B013/06 | | Аналоги изобретения: | SU 697192 A, 15.11.1979. SU 218079 A, 04.09.1968. SU 698656 A, 30.11.1979. SU 421385 A, 30.08.1974. DE 2742200 A1, 23.03.1977. US 3545610 A, 08.12.1970. GB 1130152 A, 09.10.68. |
| Имя заявителя: | Красноярский фонд "Конверсионный технопарк" | | Изобретатели: | Кацер И.У. Коротков Ю.А. Федоров Ю.О. | | Патентообладатели: | Красноярский фонд "Конверсионный технопарк" АОЗТ "Технологии металлургии" |
Реферат |  |
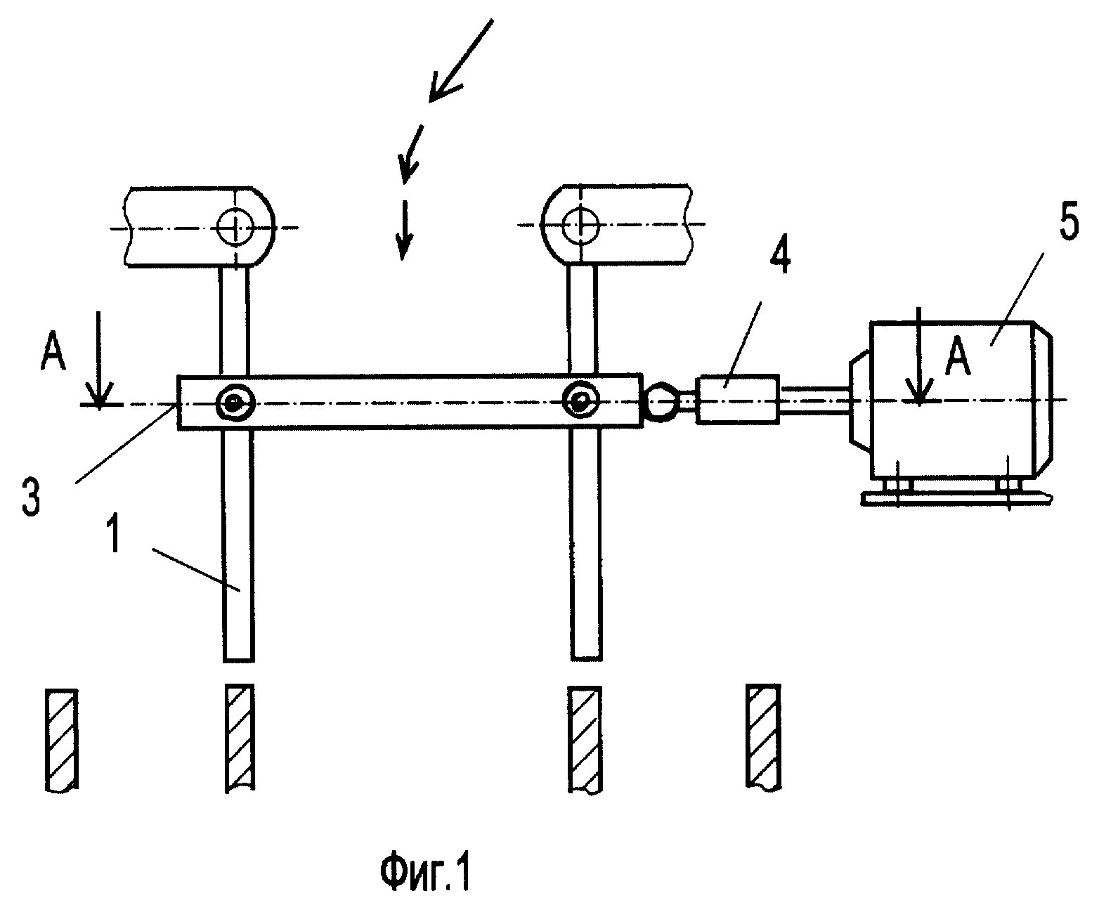
Изобретение относится к разделяющим исполнительным механизмам радиометрических сепараторов и может быть использовано в обогатительной отрасли горнорудной промышленности. Достигаемый результат - повышение производительности при порционной сортировке материалов на три фракции одновременно, повышение надежности работы, в том числе при низких температурах окружающей среды. Устройство включает реверсивный привод с шиберным механизмом. Шиберный механизм выполнен в виде двух шарнирно установленных отбойных шиберов, сочлененных шарнирно закрепленной на шиберах рамкой, связанной с реверсивным приводом через упругую муфту. 1 з.п.ф-лы, 3 ил.
|