Промышленная Сибирь Ярмарка Сибири Промышленность СФО Электронные торги НОУ-ХАУ Электронные магазины Карта сайта
 
 

Поиск патентов

Как искать?
Реферат
Название
Публикация
Регистрационный номер
Имя заявителя
Имя изобретателя
Имя патентообладателя

    





Оформить заказ и задать интересующие Вас вопросы Вы можете напрямую c 6-00 до 14-30 по московскому времени кроме сб, вс. whatsapp 8-950-950-9888

На данной странице представлена ознакомительная часть выбранного Вами патента

Для получения более подробной информации о патенте (полное описание, формула изобретения и т.д.) Вам необходимо сделать заказ. Нажмите на «Корзину»


ГИДРОЦИКЛОН СИСТЕМЫ ФРАКЦИОННОГО РАЗДЕЛЕНИЯ СУСПЕНЗИЙ РУД ТОНКОГО ПОМОЛА

Номер публикации патента: 2465061

Вид документа: C1 
Страна публикации: RU 
Рег. номер заявки: 2011139038/05 
  Сделать заказПолучить полное описание патента

Редакция МПК: 
Основные коды МПК: B04C005/00   B03B005/34    
Аналоги изобретения: SU 1024111 А, 23.06.1983. RU 76253 U1, 20.09.2008. SU 358023 А, 21.12.1972. US 7255790 B2, 14.08.2007. WO 2011/022791 A1, 03.03.2011. GB 1241537 А, 04.08.1971. ПОВАРОВ А.И. Гидроциклоны. - М.: Издательство литературы по горному делу, 1961, с.66-72. 

Имя заявителя: Закрытое акционерное общество Научно-производственное объединение "ТЭН" (RU) 
Изобретатели: Валюхов Сергей Георгиевич (RU)
Веселов Валерий Николаевич (RU)
Житенёв Алексей Иванович (RU)
Запорожец Виктор Петрович (RU)
Селиванов Николай Павлович (RU) 
Патентообладатели: Закрытое акционерное общество Научно-производственное объединение "ТЭН" (RU) 

Реферат


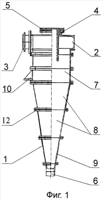
Изобретение относится к технике разделения суспензий руд, а именно к гидроциклонам, используемым в системах фракционного разделения суспензий руд тонкого помола и может быть использовано в горно-рудной отрасли, в черной и цветной металлургии, химической и других отраслях промышленности. Гидроциклон содержит цилиндроконический корпус с приемной камерой в верхней части, наделен крышкой со сливным патрубком, введенным внутрь корпуса, и снабжен песковой насадкой, выполненной с возможностью вывода для возврата на домол отсепарированных негабаритно крупных частиц. Гидроциклон выполнен сборным из цилиндрических и конических секций и снабжен внутренней футеровкой из износостойкого материала. Гидроциклон выполнен с производительностью до 450 м3/ч. Внутренний диаметр цилиндрической части корпуса превышает в 2,9÷3,6 раза выходной диаметр сливного патрубка. Площадь поперечного сечения последнего составляет 1,27÷1,89 площади поперечного сечения питательного патрубка и в 5,0÷14,0 раз превышает площадь поперечного сечения выходного канала песковой насадки при угле внутренней конусности нижней части корпуса гидроциклона, составляющем 16÷22 град. Технический результат: повышение эффективности и качества разделения суспензий руд по фракциям при снижении энергозатрат. 4 з.п. ф-лы, 1 ил.

Дирекция сайта "Промышленная Сибирь"
Россия, г.Омск, ул.Учебная, 199-Б, к.408А
Сайт открыт 01.11.2000
© 2000-2018 Промышленная Сибирь
Разработка дизайна сайта:
Дизайн-студия "RayStudio"