Промышленная Сибирь Ярмарка Сибири Промышленность СФО Электронные торги НОУ-ХАУ Электронные магазины Карта сайта
 
 

Поиск патентов

Как искать?
Реферат
Название
Публикация
Регистрационный номер
Имя заявителя
Имя изобретателя
Имя патентообладателя

    





Оформить заказ и задать интересующие Вас вопросы Вы можете напрямую c 6-00 до 14-30 по московскому времени кроме сб, вс. whatsapp 8-950-950-9888

На данной странице представлена ознакомительная часть выбранного Вами патента

Для получения более подробной информации о патенте (полное описание, формула изобретения и т.д.) Вам необходимо сделать заказ. Нажмите на «Корзину»


СПОСОБ ОТТИРКИ РУД

Номер публикации патента: 2365417

Вид документа: C1 
Страна публикации: RU 
Рег. номер заявки: 2007145475/03 
  Сделать заказПолучить полное описание патента

Редакция МПК: 
Основные коды МПК: B03B001/00   B03B005/02    
Аналоги изобретения: SU 944653 A, 23.07.1982. SU 698654 A, 25.11.1979. SU 142228 A, 01.01.1961. SU 526385 A, 30.08.1976. SU 1077629 A, 07.03.1984. SU 1269836 A1, 15.11.1986. RU 2302902 C1, 20.07.2007. RU 2262985 C1, 27.10.2005. WO 2006026089 A, 09.03.2006. Справочник по обогащению руд. Подготовительные процессы. Под ред. БОНДАРЕНКО О.С. - М.: Недра, 1982, с.206, 213.ШУБОВ Л.Я. и др. Флотационные реагенты в процессах обогащения минерального сырья. Книга 1. - М.: Недра, 1990, с.23-25. 

Имя заявителя: Совместное предприятие в форме закрытого акционерного общества "Изготовление, внедрение, сервис" (RU) 
Изобретатели: Зимин Алексей Владимирович (RU)
Арустамян Михаил Армаисович (RU) 
Патентообладатели: Совместное предприятие в форме закрытого акционерного общества "Изготовление, внедрение, сервис" (RU) 

Реферат


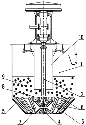
Изобретение относится к способам для очистки и обогащения зернистых материалов и может быть использовано при подготовке для дальнейшей обработки руд, в которых полезный компонент находится либо в оболочке, либо в ядре зерен минералов. Способ оттирки руд включает перемешивание пульпы в камере машины в присутствии реагентов и материала, твердость которого по шкале Мооса более 6. В качестве реагентов используют пептизатор, например, жидкое стекло с температурой 40°С или соли карбоксиметилцеллюлозы, в качестве материала с твердостью по шкале Мооса более 6 - гранулы с диаметром 4-10 мм. Нижнюю часть камеры машины выполняют в виде усеченного конуса с высотой, не превышающей расстояние от дна камеры до верхнего диска импеллера, под которым устанавливают подимпеллерный конус. Создают турбулентное движение пульпы для наибольшего соударения частиц минерала с гранулами с помощью размещенных на усеченном конусе радиальных ребер. Технический результат - повышение эффективности оттирки пленок с поверхности зернистых материалов, уменьшение количества промпродукта, а также снижение циркуляции продуктов обогащения и повышение качества выпускаемого концентрата без потерь извлечения. 1 ил.

Дирекция сайта "Промышленная Сибирь"
Россия, г.Омск, ул.Учебная, 199-Б, к.408А
Сайт открыт 01.11.2000
© 2000-2018 Промышленная Сибирь
Разработка дизайна сайта:
Дизайн-студия "RayStudio"