Промышленная Сибирь Ярмарка Сибири Промышленность СФО Электронные торги НОУ-ХАУ Электронные магазины Карта сайта
 
 

Поиск патентов

Как искать?
Реферат
Название
Публикация
Регистрационный номер
Имя заявителя
Имя изобретателя
Имя патентообладателя

    





Оформить заказ и задать интересующие Вас вопросы Вы можете напрямую c 6-00 до 14-30 по московскому времени кроме сб, вс. whatsapp 8-950-950-9888

На данной странице представлена ознакомительная часть выбранного Вами патента

Для получения более подробной информации о патенте (полное описание, формула изобретения и т.д.) Вам необходимо сделать заказ. Нажмите на «Корзину»


УСТРОЙСТВО ДЛЯ ТЕПЛОВОЙ ОБРАБОТКИ ЗЕРНА

Номер публикации патента: 2474475

Вид документа: C1 
Страна публикации: RU 
Рег. номер заявки: 2011127267/13 
  Сделать заказПолучить полное описание патента

Редакция МПК: 
Основные коды МПК: B02B001/04    
Аналоги изобретения: СОКОЛОВ А.Я. и др. Технологическое оборудование предприятий по хранению и переработке зерна. 5-е изд. перераб. и доп. - М.: Колос, 1984, с.186-188. RU 2179402 C1, 20.02.2002. RU 2280396 C1, 27.06.2006. 

Имя заявителя: Государственное научное учреждение Всероссийский научно-исследовательский институт использования техники и нефтепродуктов Российской академии сельскохозяйственных наук (ГНУ ВНИИТиН Россельхозакадемии) (RU) 
Изобретатели: Амельянц Аркадий Григорьевич (RU)
Тишанинов Николай Петрович (RU) 
Патентообладатели: Государственное научное учреждение Всероссийский научно-исследовательский институт использования техники и нефтепродуктов Российской академии сельскохозяйственных наук (ГНУ ВНИИТиН Россельхозакадемии) (RU) 

Реферат


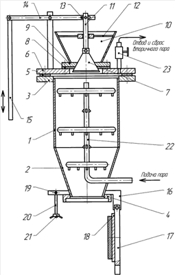
Изобретение относится к мукомольно-крупяной промышленности и может быть использовано для обработки зерна. Устройство содержит вертикальный сосуд с крышкой и коническим днищем, установленный внутри сосуда парораспределительный змеевик и смонтированные на крышке и коническом днище загрузочный и разгрузочный затворы с системой рычагов для их привода. Крышка сосуда снабжена приемной горловиной с уплотнительной прокладкой, патрубком для отвода и сброса вторичного пара и манометром. Загрузочный затвор выполнен конусным и самоуплотняющим и снабжен штоком, проходящим через жестко закрепленную в приемной горловине центрирующую втулку. Шток соединен с кулисой двуплечего рычага, шарнирно соединенного с управляющей тягой. К конусному днищу прикреплен кронштейн, на котором закреплен разгрузочный затвор, выполненный откидным. С противоположной стороны кронштейна к коническому днищу также на кронштейне шарнирно закреплен винт с гайкой. Использование изобретения позволит повысить качество обработки зерна. 1 ил.

Дирекция сайта "Промышленная Сибирь"
Россия, г.Омск, ул.Учебная, 199-Б, к.408А
Сайт открыт 01.11.2000
© 2000-2018 Промышленная Сибирь
Разработка дизайна сайта:
Дизайн-студия "RayStudio"