|
На данной странице представлена ознакомительная часть выбранного Вами патента
Для получения более подробной информации о патенте (полное описание, формула изобретения и т.д.) Вам необходимо сделать заказ. Нажмите на «Корзину»
| ТЕХНОЛОГИЧЕСКАЯ СИСТЕМА (ВАРИАНТЫ) ОЧИСТКИ СТОЧНЫХ ВОД |  |
Номер публикации патента: 2173301 |  |
| Редакция МПК: | 7 | | Основные коды МПК: | C02F001/28 B01J047/04 | | Аналоги изобретения: | RU 2084411 С1, 20.07.1997. ЛАСКОВ Б.М. и др. Очистка сточных вод от красителей и ПАВ. - Водоснабжение и санитарная техника, 1997, №3, 11-15. RU 2096087 Cl, 20.11.1997. RU 2130902 Cl, 17.05.1999. RU 2142424 Cl, 10.12.1999. RU 2125746 C1, 27.01.1999. WO 86/04050, 17.07.1986. |
| Имя заявителя: | Ульянец Александр Николаевич | | Изобретатели: | Ульянец А.Н. Алексеев В.И. Пальгунов Н.В. Кузнецова Т.В. Крылов Ю.Н. | | Патентообладатели: | Ульянец Александр Николаевич |
Реферат |  |
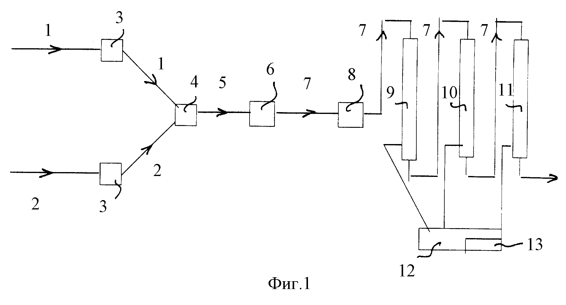
Использование: изобретение относится к способам очистки сточных вод. Сущность изобретения: технологическая система очистки сточных вод в первом варианте включает, по крайней мере, один фильтр, загруженный углеродно-волокнистым материалом, упакованным в картриджи с возможностью их удаления из зоны фильтрации фильтра, и, по крайней мере, в один узел регенерации картриджей с углеродно-волокнистым материалом включен автоклав, в котором предусмотрено размещение, по крайней мере, одного картриджа, а также предусмотрена возможность обеспечения в автоклаве давления, по крайней мере, 1,5 • 104 Па; технологическая система очистки сточных вод во втором варианте включает, по крайней мере, один фильтр, в котором рабочая часть загружена углеродно-волокнистым материалом, упакованным произвольно, и включен узел регенерации, в котором область регенерации углеродно-волокнистого материала размещена в контакте с областью фильтрации углеродно-волокнистого материала и предусмотрена возможность непрерывной смены углеродно-волокнистого материала в областях фильтрации и регенерации. Изобретение обеспечивает высокую степень очистки и экономичность процесса. 2 с. и 18 з.п. ф-лы, 3 ил.
|