Промышленная Сибирь Ярмарка Сибири Промышленность СФО Электронные торги НОУ-ХАУ Электронные магазины Карта сайта
 
 

Поиск патентов

Как искать?
Реферат
Название
Публикация
Регистрационный номер
Имя заявителя
Имя изобретателя
Имя патентообладателя

    





Оформить заказ и задать интересующие Вас вопросы Вы можете напрямую c 6-00 до 14-30 по московскому времени кроме сб, вс. whatsapp 8-950-950-9888

На данной странице представлена ознакомительная часть выбранного Вами патента

Для получения более подробной информации о патенте (полное описание, формула изобретения и т.д.) Вам необходимо сделать заказ. Нажмите на «Корзину»


СПОСОБ ПРОВЕДЕНИЯ МАССООБМЕНА В СИСТЕМЕ ДВУХ НЕСМЕШИВАЮЩИХСЯ ЖИДКОСТЕЙ И УСТРОЙСТВО ДЛЯ ЕГО ОСУЩЕСТВЛЕНИЯ

Номер публикации патента: 2454270

Вид документа: C1 
Страна публикации: RU 
Рег. номер заявки: 2010151278/05 
  Сделать заказПолучить полное описание патента

Редакция МПК: 
Основные коды МПК: B01D063/00   B01D059/22   B01D011/04    
Аналоги изобретения: RU 46677 U1, 27.07.2005. RU 2325210 С1, 27.05.2008. RU 789125 А1, 23.12.1980. US 4334999 А, 15.06.1982. GB 1220441 А, 27.01.1971. ЕР 0020026 А1, 10.12.1980. WO 9845019 А1, 15.10.1998. 

Имя заявителя: Открытое акционерное общество "Высокотехнологический научно-исследовательский институт неорганических материалов имени академика А.А. Бочвара" (RU) 
Изобретатели: Волк Владимир Иванович (RU)
Двоеглазов Константин Николаевич (RU)
Виданов Виталий Львович (RU)
Третьяков Александр Афанасьевич (RU)
Сергеева Любовь Николаевна (RU)
Никулин Сергей Львович (RU)
Алексеенко Владимир Николаевич (RU)
Алексеенко Сергей Николаевич (RU)
Бондин Владимир Викторович (RU)
Бычков Сергей Иванович (RU)
Кривицкий Юрий Григорьевич (RU) 
Патентообладатели: Открытое акционерное общество "Высокотехнологический научно-исследовательский институт неорганических материалов имени академика А.А. Бочвара" (RU) 

Реферат


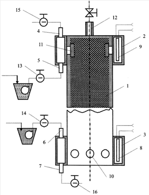
Изобретение относится к химической технологии, в частности к способу проведения массообмена в системе двух несмешивающихся жидкостей для концентрирования и очистки компонентов и устройству для его осуществления. Способ включает подачу органического (О) и водного (В) потоков при соотношении О:В<0,1 или О:В>10 через вертикальную колонну с насадкой и вывод потоков из колонны. При этом органический и водный потоки пропускают циклически - попеременно через слой зернистой крупнопористой насадки с открытыми и сообщающимися порами с преобладающим диаметром пор более 10 мкм, размером зерна 0,3-1,5 мм, объемной пористостью от 20 до 80% и избирательно смачиваемой фазой малого потока. Устройство для осуществления данного способа выполнено в виде колонны, имеющей насадочную часть и клапаны для ввода и вывода фаз, снабженной двумя камерами разделения фаз, расположенными в верхней и нижней части колонны коаксиально ее корпусу, а верхняя крышка колонны снабжена штуцером и полнопроходным вентилем для загрузки и выгрузки насадки. Изобретение обеспечивает высокую очистку продуктовых потоков в экстракционном процессе при снижении объемов промывных потоков за счет повышения эффективности массообменного процесса и расширения функциональных возможностей массообменного аппарата. 2 н. и 2 з.п. ф-лы, 1 ил.

Дирекция сайта "Промышленная Сибирь"
Россия, г.Омск, ул.Учебная, 199-Б, к.408А
Сайт открыт 01.11.2000
© 2000-2018 Промышленная Сибирь
Разработка дизайна сайта:
Дизайн-студия "RayStudio"