Промышленная Сибирь Ярмарка Сибири Промышленность СФО Электронные торги НОУ-ХАУ Электронные магазины Карта сайта
 
 

Поиск патентов

Как искать?
Реферат
Название
Публикация
Регистрационный номер
Имя заявителя
Имя изобретателя
Имя патентообладателя

    





Оформить заказ и задать интересующие Вас вопросы Вы можете напрямую c 6-00 до 14-30 по московскому времени кроме сб, вс. whatsapp 8-950-950-9888

На данной странице представлена ознакомительная часть выбранного Вами патента

Для получения более подробной информации о патенте (полное описание, формула изобретения и т.д.) Вам необходимо сделать заказ. Нажмите на «Корзину»


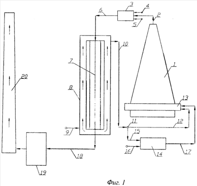
СПОСОБ ОЧИСТКИ И УТИЛИЗАЦИИ ОТХОДЯЩИХ ГАЗОВ ВАГРАНКИ

Номер публикации патента: 2464069

Вид документа: C2 
Страна публикации: RU 
Рег. номер заявки: 2008116968/05 
  Сделать заказПолучить полное описание патента

Редакция МПК: 
Основные коды МПК: B01D049/02    
Аналоги изобретения: Грачев В.А. Печи литейных цехов. - М.: Издательство МГОУ, 1994, с.330-335. CA 1061550, 04.09.1979. US 3454395, 08.07.1969. US 2995354, 08.08.1961. 

Имя заявителя: Сенкус Витаутас Валентинович (RU),
Селянин Иван Филиппович (RU),
Стефанюк Богдан Михайлович (RU),
Феоктистов Андрей Владимирович (RU),
Сенкус Валентин Витаутасович (RU),
Перематин Илья Александрович (RU),
Марченко Валентин Александрович (RU),
Конакова Нина Ивановна (RU),
Сенкус Василий Витаутасович (RU) 
Изобретатели: Сенкус Витаутас Валентинович (RU)
Селянин Иван Филиппович (RU)
Стефанюк Богдан Михайлович (RU)
Феоктистов Андрей Владимирович (RU)
Сенкус Валентин Витаутасович (RU)
Перематин Илья Александрович (RU)
Марченко Валентин Александрович (RU)
Конакова Нина Ивановна (RU)
Сенкус Василий Витаутасович (RU) 
Патентообладатели: Сенкус Витаутас Валентинович (RU)
Селянин Иван Филиппович (RU)
Стефанюк Богдан Михайлович (RU)
Феоктистов Андрей Владимирович (RU)
Сенкус Валентин Витаутасович (RU)
Перематин Илья Александрович (RU)
Марченко Валентин Александрович (RU)
Конакова Нина Ивановна (RU)
Сенкус Василий Витаутасович (RU) 

Реферат


Изобретение относится к металлургической промышленности. Способ очистки и утилизации дымовых газов вагранки, включающий систему отвода и дожигания газов из вагранки, нагрев воздуха в рекуператоре, подачу части нагретого воздуха через фурму в вагранку, и подачу части нагретого воздуха в камеру сгорания, отличается тем, что дымовые газы из вагранки, природный газ и воздух раздельно подают и сжигают в основной камере сгорания, которая установлена на входе в рекуператор, что приводит к повышению температуры отходящих газов, а на выходе дутья вагранки из рекуператора устанавливают разделитель, который большую часть (3/4) нагретого воздуха подает в фурменную коробку, а меньшая часть (1/4) нагретого воздуха поступает в дополнительную камеру сгорания, в которой природный газ и воздух сжигают, а отходящие газы, имеющие высокую температуру, подают в фурменную коробку, где они смешиваются с основным потоком нагретого воздуха, повышая температуру дутья. Изобретение позволяет получить устойчивый эффект повышения температуры горячего дутья и температуры выплавляемого чугуна за счет дожигания дымовых газов и дополнительного нагрева части дутья, сократить выбросы в атмосферу и повысить производительность вагранки. 1 з.п. ф-лы, 1 ил.

Дирекция сайта "Промышленная Сибирь"
Россия, г.Омск, ул.Учебная, 199-Б, к.408А
Сайт открыт 01.11.2000
© 2000-2018 Промышленная Сибирь
Разработка дизайна сайта:
Дизайн-студия "RayStudio"