Промышленная Сибирь Ярмарка Сибири Промышленность СФО Электронные торги НОУ-ХАУ Электронные магазины Карта сайта
 
 

Поиск патентов

Как искать?
Реферат
Название
Публикация
Регистрационный номер
Имя заявителя
Имя изобретателя
Имя патентообладателя

    





Оформить заказ и задать интересующие Вас вопросы Вы можете напрямую c 6-00 до 14-30 по московскому времени кроме сб, вс. whatsapp 8-950-950-9888

На данной странице представлена ознакомительная часть выбранного Вами патента

Для получения более подробной информации о патенте (полное описание, формула изобретения и т.д.) Вам необходимо сделать заказ. Нажмите на «Корзину»


УСТАНОВКА ДЛЯ ИСПЫТАНИЯ ФИЛЬТРУЮЩИХ ЗАГРУЗОК ДЛЯ ОЧИСТКИ ВОДЫ

Номер публикации патента: 2413675

Вид документа: C1 
Страна публикации: RU 
Рег. номер заявки: 2009124782/05 
  Сделать заказПолучить полное описание патента

Редакция МПК: 
Основные коды МПК: C02F001/00   B01D024/10    
Аналоги изобретения: RU 2309003 C1, 27.10.2007. SU 844018 A1, 07.07.1981. RU 2121976 C1, 20.11.1998. RU 37088 U1, 10.04.2004. CN 2235441 Y, 18.09.1996. 

Имя заявителя: Государственное Унитарное Предприятие "Водоканал Санкт-Петербурга" (RU) 
Изобретатели: Кинебас Анатолий Кириллович (RU)
Русанова Лариса Петровна (RU)
Дубатовка Александр Юрьевич (RU)
Иванов Геннадий Николаевич (RU)
Воеводская Татьяна Валентиновна (RU) 
Патентообладатели: Государственное Унитарное Предприятие "Водоканал Санкт-Петербурга" (RU) 

Реферат


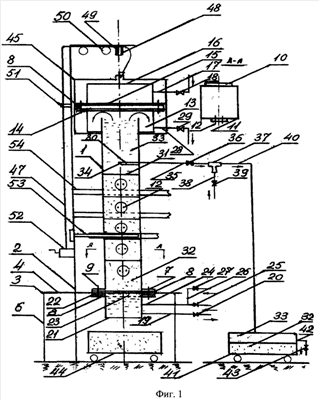
Изобретение относится к области обработки воды. При работе фильтровальной колонны в режиме контактного осветлителя исходную воду подают по патрубку 24 в водяную камеру 21. Вода протекает через фильтровальные загрузки 32 и попадает в сливную камеру 13, откуда ее сбрасывают в канализацию. При работе фильтровальной колонны в режиме скорого фильтра исходную воду подают по патрубку 17 в короб 16. Вода поступает в корпус фильтровальной колонны 1 и через отверстия перегородки 23 попадает в водяную камеру 21, откуда ее сбрасывают в канализацию. При работе фильтровальной колонны 1 в режиме частичного удаления загрузки воду подают по патрубку 24 в водяную камеру 21. Вода протекает через фильтровальные загрузки 32. Одновременно воду по патрубку 38 подают в эжектор 37. Образовавшаяся взвесь загрузки в воде засасывается заборным патрубком 34 и сбрасывается в емкость 41, где ее отстаивают. При работе фильтровальной колонны в режиме промывки фильтровальных загрузок 32 промывную воду по патрубку 26 подают в водяную камеру 21. Вода протекает через фильтровальные загрузки 32 и попадает в сливную камеру 13, откуда ее сбрасывают в канализацию. Изобретение позволяет упростить процесс эксплуатации и технического обслуживания установки, а также обеспечить испытания и подбор фильтрующих загрузок не только для одноступенчатой, но и для двухступенчатой схем очистки воды с учетом повышения точности измерений. 1 з.п. ф-лы, 2 ил.

Дирекция сайта "Промышленная Сибирь"
Россия, г.Омск, ул.Учебная, 199-Б, к.408А
Сайт открыт 01.11.2000
© 2000-2018 Промышленная Сибирь
Разработка дизайна сайта:
Дизайн-студия "RayStudio"