|
На данной странице представлена ознакомительная часть выбранного Вами патента
Для получения более подробной информации о патенте (полное описание, формула изобретения и т.д.) Вам необходимо сделать заказ. Нажмите на «Корзину»
| ВЫМОРАЖИВАЮЩАЯ ЛОВУШКА |  |
Номер публикации патента: 2182991 |  |
| Редакция МПК: | 7 | | Основные коды МПК: | F04B037/08 B01D008/00 | | Аналоги изобретения: | SU 1341398 А1, 30.09.1987. SU 1333868 А1, 30.08.1987. SU 1368505 А1, 23.01.1988. JP 53-15994 А, 29.05.1978. МИКУЛИН Е.И., Криогенная техника. - М.: Машиностроение, 1969, с.220, рис.114. |
| Имя заявителя: | Открытое акционерное общество "Ракетно-космическая корпорация "Энергия" имени С.П. Королева" | | Изобретатели: | Гореликов В.И. | | Патентообладатели: | Открытое акционерное общество "Ракетно-космическая корпорация "Энергия" имени С.П. Королева" |
Реферат |  |
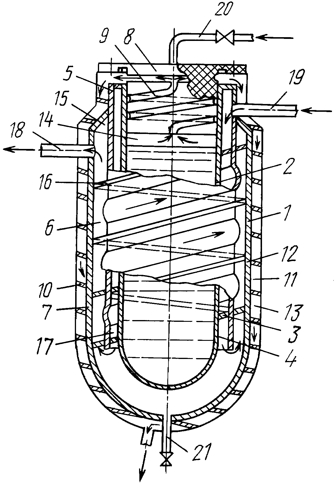
Изобретение относится к области криогенной и вакуумной техники и касается конструкции вымораживающих ловушек, используемых в вакуумных технологиях. В цилиндрическом корпусе соосно размещена емкость с криогенной жидкостью. На ее внешней поверхности расположено винтовое оребрение. Цилиндрический экран установлен с зазором относительно стенки корпуса. На наружной поверхности корпуса расположен теплообменник, выполненный в виде рубашки с винтообразными каналами и сообщенный с паровым пространством емкости через винтообразный канал крышки. На внешней поверхности цилиндрического экрана имеется винтовое оребрение. Ловушка содержит трубопровод для подстыковки к насосу, трубопровод для подстыковки к откачиваемому объему, трубопровод для заправки емкости криогенной жидкостью, трубопровод для слива масла. Предложенная конструкция обеспечивает минимальные теплопритоки, низкую испаряемость криогенной жидкости и длительный ресурс работы. 1 ил.
|