Промышленная Сибирь Ярмарка Сибири Промышленность СФО Электронные торги НОУ-ХАУ Электронные магазины Карта сайта
 
 

Поиск патентов

Как искать?
Реферат
Название
Публикация
Регистрационный номер
Имя заявителя
Имя изобретателя
Имя патентообладателя

    





Оформить заказ и задать интересующие Вас вопросы Вы можете напрямую c 6-00 до 14-30 по московскому времени кроме сб, вс. whatsapp 8-950-950-9888

На данной странице представлена ознакомительная часть выбранного Вами патента

Для получения более подробной информации о патенте (полное описание, формула изобретения и т.д.) Вам необходимо сделать заказ. Нажмите на «Корзину»


АГРЕГАТ ГАЗОВЫХ ЦЕНТРИФУГ

Номер публикации патента: 2372973

Вид документа: C2 
Страна публикации: RU 
Рег. номер заявки: 2008102214/15 
  Сделать заказПолучить полное описание патента

Редакция МПК: 
Основные коды МПК: B01D059/20   B04B005/08    
Аналоги изобретения: RU 2060800 С1, 27.05.1996. RU 2217240 С2, 27.11.2003. RU 2036702 С1, 09.06.1995. JP 61-033218 А, 17.02.1986. JP 61-046227 А, 06.03.1986. DE 2746871 С1, 31.10.1985. 

Имя заявителя: Открытое акционерное общество "Производственное объединение "Электрохимический завод" (ОАО "ПО ЭХЗ") (RU) 
Изобретатели: Шубин Анатолий Николаевич (RU)
Калитеевский Алексей Кириллович (RU)
Кураев Валентин Владимирович (RU)
Тютин Борис Владимирович (RU)
Богомолов Николай Евгеньевич (RU)
Лисейкин Вячеслав Павлович (RU)
Фридлянд Алексей Павлович (RU) 
Патентообладатели: Открытое акционерное общество "Производственное объединение "Электрохимический завод" (ОАО "ПО ЭХЗ") (RU) 

Реферат


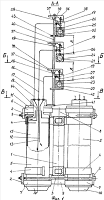
Изобретение может быть использовано в каскадах для непрерывного разделения газовых смесей в полях центробежных сил. Агрегат содержит группу газовых центрифуг, элементы (2, 3, 4, 8, 9) крепления корпусов (5) центрифуг двумя рядами к раме (1), устройства газораспределения потоков подачи и отбора газа между внутренними газовыми каналами (12, 13, 14) каждой центрифуги и магистральными каналами (23, 24, 25) агрегатных коллекторов (20, 21, 22). На каждом коллекторе установлены угловые запорные клапаны (19), причем над магистральным каналом в стенке агрегатного коллектора выполнены проточные камеры угловых клапанов с седлом и боковым каналом, ориентированным выходом в сторону одного или другого ряда центрифуг. В каждой проточной камере размещен вертикальный шток с затвором и упругой мембраной, над которой установлены крышка и запирающая пружина клапана (19), который снабжен ручным приводом, выполненным в виде соединенного со штоком двуплечего рычага (36) и общего для клапанов одной центрифуги фиксатора (40) положения ручного привода. Двуплечий рычаг (36) установлен на штоке с возможностью углового люфта вокруг оси клапана, приводной конец (37) рычага связан с верхней крышкой (11) центрифуги, опорный конец (38) рычага через крышку клапана связан с рамой (1) агрегата, а рама снабжена стойками, в которых агрегатные коллекторы (20, 21, 22) установлены по высоте с возможностью доступа между ними в зону ручного управления приводом клапанов. Изобретение позволяет повысить надежность агрегата газовых центрифуг, а также упростить управление запорными клапанами. 3 з.п. ф-лы, 5 ил.

Дирекция сайта "Промышленная Сибирь"
Россия, г.Омск, ул.Учебная, 199-Б, к.408А
Сайт открыт 01.11.2000
© 2000-2018 Промышленная Сибирь
Разработка дизайна сайта:
Дизайн-студия "RayStudio"