|
На данной странице представлена ознакомительная часть выбранного Вами патента
Для получения более подробной информации о патенте (полное описание, формула изобретения и т.д.) Вам необходимо сделать заказ. Нажмите на «Корзину»
| ОГНЕПРЕГРАЖДАЮЩЕЕ УСТРОЙСТВО ДЛЯ ВОЗДУХОВОДОВ |  |
Номер публикации патента: 2174027 |  |
| Редакция МПК: | 7 | | Основные коды МПК: | A62C004/02 | | Аналоги изобретения: | SU 1440507 A1, 30.11.1988. DE 2625904 А1, 23.12.1976. GB 1394470 A, 01.05.1975. US 3913603 A, 21.10.1975. GB 1549890 A, 20.05.1981. US 4361165 A, 30.11.1982. CH 664500 A5, 15.03.1988. |
| Имя заявителя: | Военная академия Ракетных войск стратегического назначения им. Петра Великого | | Изобретатели: | Бородин Р.В. | | Патентообладатели: | Военная академия Ракетных войск стратегического назначения им. Петра Великого |
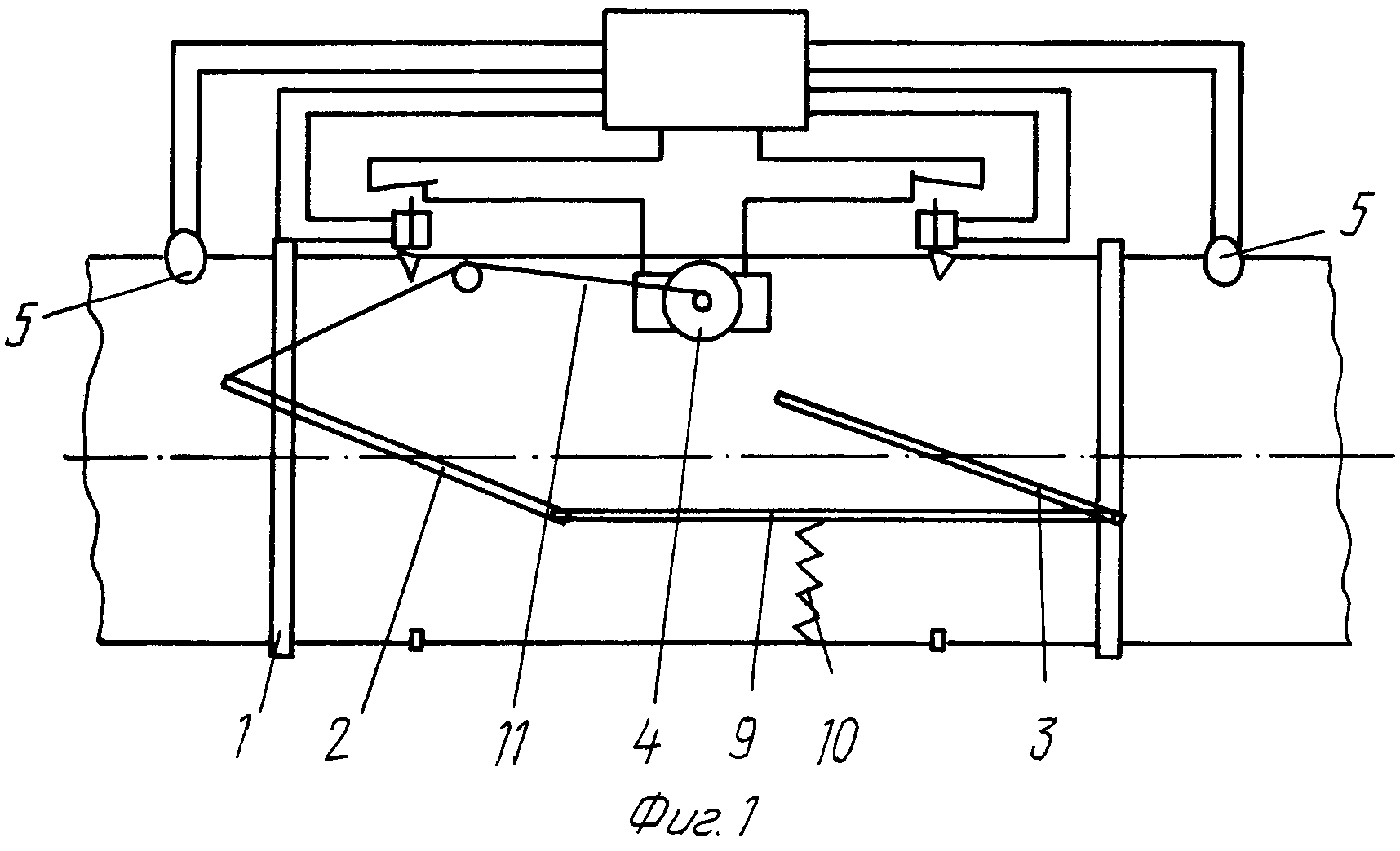
Реферат |  |
Устройство может быть использовано в противопожарной технике для преграждения огня в воздуховодах и позволяет упростить конструкцию. Устройство содержит корпус, две поворотные огнепреграждающие пластины, закрепленные внутри корпуса на осях по разные стороны от исполнительного механизма, в качестве которого использован электродвигатель, средство для фиксации пластин в закрытом положении и средство для удержания пластин в открытом положении, выполненное в виде пружин. Огнепреграждающие пластины закреплены внутри корпуса на осях по разные стороны от исполнительного механизма симметрично и под углом к продольной оси воздуховода. Одна из огнепреграждающих пластин является ведомой и посредством соединительной штанги шарнирно связана с ведущей огнепреграждающей пластиной. Концы пружины жестко прикреплены к середине соединительной штанги и к корпусу устройства. 2 ил.
|