Промышленная Сибирь Ярмарка Сибири Промышленность СФО Электронные торги НОУ-ХАУ Электронные магазины Карта сайта
 
 

Поиск патентов

Как искать?
Реферат
Название
Публикация
Регистрационный номер
Имя заявителя
Имя изобретателя
Имя патентообладателя

    





Оформить заказ и задать интересующие Вас вопросы Вы можете напрямую c 6-00 до 14-30 по московскому времени кроме сб, вс. whatsapp 8-950-950-9888

На данной странице представлена ознакомительная часть выбранного Вами патента

Для получения более подробной информации о патенте (полное описание, формула изобретения и т.д.) Вам необходимо сделать заказ. Нажмите на «Корзину»


СПОСОБ ФОРМИРОВАНИЯ ПРОТИВОПОЖАРНОЙ ПРЕГРАДЫ И ПРОТИВОПОЖАРНАЯ ПРЕГРАДА

Номер публикации патента: 2466761

Вид документа: C1 
Страна публикации: RU 
Рег. номер заявки: 2011129406/12 
  Сделать заказПолучить полное описание патента

Редакция МПК: 
Основные коды МПК: A62C002/10    
Аналоги изобретения: FR 2212759 А6, 26.07.1974. RU 2229910 C1, 10.06.2004. RU 2284202 C1, 27.09.2006. RU 2247584 C2, 10.03.2005. RU 2156628 C1, 27.09.2000. JP 6070991 A, 15.03.1994. CN 1216260 A, 15.02.1999. 

Имя заявителя: Закрытое акционерное общество "Теплоогнезащита" (ЗАО "Теплоогнезащита") (RU) 
Изобретатели: Страхов Валерий Леонидович (RU)
Крутов Александр Михайлович (RU)
Заикин Сергей Вениаминович (RU) 
Патентообладатели: Закрытое акционерное общество "Теплоогнезащита" (ЗАО "Теплоогнезащита") (RU) 

Реферат


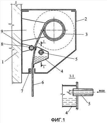
Изобретение относится к противопожарной технике и предназначено для локализации пожара в открытых технологических проемах, проемах зданий и сооружений с помощью формирования противопожарной преграды, в которой применяется огнезащитный экран. Способ включает операции, при которых при возникновении пожара опускают гибкий огнезащитный экран. Экран выполнен из материала с капиллярно-пористой структурой для перекрывания проема защищаемого перемещения. Осуществляют подачу охлаждающей жидкости в гибкий огнезащитный экран для создания в его капиллярной структуре парокапельновоздушной среды. Подачу охлаждающей жидкости осуществляют так, чтобы на начальной стадии охлаждающая жидкость проникала в стенку экрана посредством капиллярных явлений и затем, пройдя вглубь на расстояние, равное высоте капиллярного поднятия жидкости, распространялась вниз экрана посредством явления фильтрации под действием своей силы тяжести. Осуществляют регулирование расхода охлаждающей жидкости так, чтобы температура в любой точке на необогреваемой поверхности огнезащитного экрана была равна температуре испарения воды. Пропиточный узел противопожарной преграды включает в себя емкость, размещенную внутри корпуса над отверстием для прохода экрана, вплотную прилегающего к емкости, образуя одну из ее стенок. Технический результат - повышение эффективности преграды за счет, в частности, отсутствия вытекающей из экрана неиспарившейся части жидкости; уменьшение расхода жидкости; отсутствие непропитанных водой участков экрана. 3 ил.

Дирекция сайта "Промышленная Сибирь"
Россия, г.Омск, ул.Учебная, 199-Б, к.408А
Сайт открыт 01.11.2000
© 2000-2018 Промышленная Сибирь
Разработка дизайна сайта:
Дизайн-студия "RayStudio"