Промышленная Сибирь Ярмарка Сибири Промышленность СФО Электронные торги НОУ-ХАУ Электронные магазины Карта сайта
 
 

Поиск патентов

Как искать?
Реферат
Название
Публикация
Регистрационный номер
Имя заявителя
Имя изобретателя
Имя патентообладателя

    





Оформить заказ и задать интересующие Вас вопросы Вы можете напрямую c 6-00 до 14-30 по московскому времени кроме сб, вс. whatsapp 8-950-950-9888

На данной странице представлена ознакомительная часть выбранного Вами патента

Для получения более подробной информации о патенте (полное описание, формула изобретения и т.д.) Вам необходимо сделать заказ. Нажмите на «Корзину»


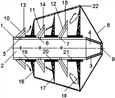
ГЕНЕРАТОР ПОЛИДИСПЕРСНОЙ ПЕНЫ

Номер публикации патента: 2457878

Вид документа: C1 
Страна публикации: RU 
Рег. номер заявки: 2011119925/12 
  Сделать заказПолучить полное описание патента

Редакция МПК: 
Основные коды МПК: A62C031/02    
Аналоги изобретения: SU 858853 A1, 30.08.1981. RU 2143296 C1, 27.12.1999. CN 201558437 U, 25.08.2010. GB 614937 А, 30.12.1948. 

Имя заявителя: Кочетов Олег Савельевич (RU),
Стареева Мария Олеговна (RU) 
Изобретатели: Кочетов Олег Савельевич (RU)
Стареева Мария Олеговна (RU) 
Патентообладатели: Кочетов Олег Савельевич (RU)
Стареева Мария Олеговна (RU) 

Реферат


Изобретение для использования в автоматических системах пожаротушения. Генератор полидисперсной пены содержит корпус, распределительное и направляющее устройства. Корпус выполнен в виде цилиндрической трубы с магистральным отверстием, один конец которой служит для подключения к насосной установке, а на другом конце установлен конический насадок с конфузором, заканчивающимся дроссельным отверстием. На насадке установлен генерирующий элемент из сетки, выполненный в виде усеченной конической поверхности. Со стороны подачи раствора пенообразователя на корпусе установлен распределитель пенораствора, выполненный в виде пакета чередующихся между собой дроссельных шайб, в которых выполнены дроссельные отверстия с наклоном в сторону генерирующего элемента, соединенные соответственно с отверстиями в корпусе. С каждой из дроссельных шайб соединены, по крайней мере, три отверстия, лежащих в плоскости, перпендикулярной оси корпуса, и расположенных по отношению друг к другу под углом 120°, а между дроссельными шайбами установлены перфорированные конические диски, соединенные соответственно со втулками, установленными на корпусе, при этом на периферийных поверхностях перфорированных дисков установлен диффузор, выполненный из генерирующей сетки. Технический результат - повышение эффективности распыления огнетушащего жидкостного раствора пенообразователя. 1 ил.

Дирекция сайта "Промышленная Сибирь"
Россия, г.Омск, ул.Учебная, 199-Б, к.408А
Сайт открыт 01.11.2000
© 2000-2018 Промышленная Сибирь
Разработка дизайна сайта:
Дизайн-студия "RayStudio"