|
На данной странице представлена ознакомительная часть выбранного Вами патента
Для получения более подробной информации о патенте (полное описание, формула изобретения и т.д.) Вам необходимо сделать заказ. Нажмите на «Корзину»
| АППАРАТ ДЛЯ ИНФУЗИИ ПОД ДАВЛЕНИЕМ |  |
Номер публикации патента: 2177806 |  |
| Редакция МПК: | 7 | | Основные коды МПК: | A61M005/152 | | Аналоги изобретения: | US 5348539 A, 20.09.1994. US 4778451 A, 18.10.1988. DE 2246954 A, 05.04.1973. SU 959790 A, 23.09.1882. |
| Имя заявителя: | ПРЕМЕТЕК АБ (SE) | | Изобретатели: | ТИЛЛАНДЕР Ганс (SE) | | Патентообладатели: | ПРЕМЕТЕК АБ (SE) | | Номер конвенционной заявки: | 9502789-2 | | Страна приоритета: | SE | | Патентный поверенный: | Стояченко Игорь Леонидович |
Реферат |  |
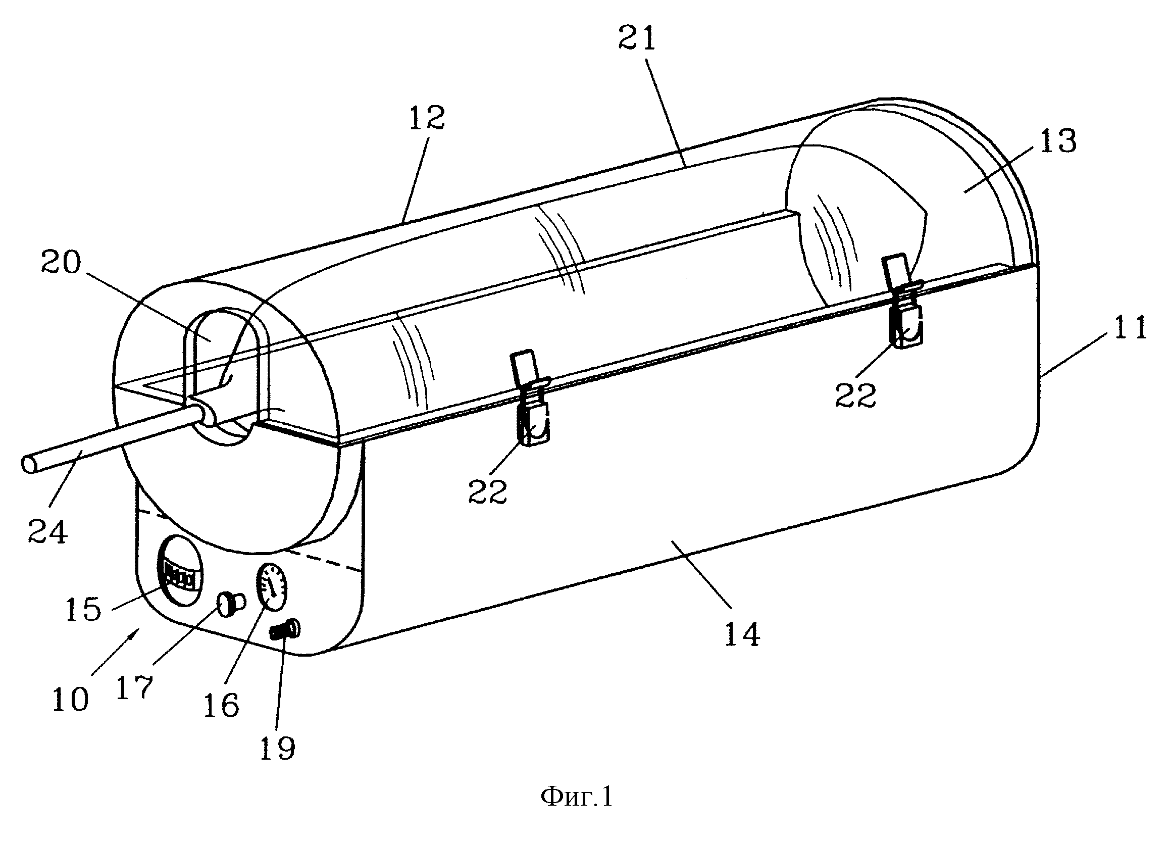
Аппарат для инфузии жидкости под давлением содержит камеру, содержащую по крайней мере один пакет вливания. Аппарат давления в камере подает давление на пакет вливания с целью нагнетания вводимой жидкости в трубку вливания. Аппарат давления включает в себя пневматическую камеру давления и источник давления. Между накопительной камерой и источником давления находится клапан регулировки давления, значительно уменьшающий давление в источнике давления относительно максимального давления в камере. Источник давления включает в себя практически нерастяжимую воздухонепроницаемую гибкую мембрану, которая разделяют камеру на камеру вливания и камеру давления и которая оказывает давление непосредственно на пакет. К трубке вливания или ее продолжению от пакета вливания присоединен по крайней мере один клапан регулирования потока, позволяющий получать калиброванное количество жидкости в единицу времени. Изобретение позволяет осуществлять длительное введение жидкости независимо от внешних источников энергии и легко устанавливать количество вводимой жидкости в единицу времени. 6 з. п. ф-лы, 9 ил. , 1 табл.
|