Промышленная Сибирь Ярмарка Сибири Промышленность СФО Электронные торги НОУ-ХАУ Электронные магазины Карта сайта
 
 

Поиск патентов

Как искать?
Реферат
Название
Публикация
Регистрационный номер
Имя заявителя
Имя изобретателя
Имя патентообладателя

    





Оформить заказ и задать интересующие Вас вопросы Вы можете напрямую c 6-00 до 14-30 по московскому времени кроме сб, вс. whatsapp 8-950-950-9888

На данной странице представлена ознакомительная часть выбранного Вами патента

Для получения более подробной информации о патенте (полное описание, формула изобретения и т.д.) Вам необходимо сделать заказ. Нажмите на «Корзину»


ТРАНСПОРТНАЯ ТЕЛЕЖКА ДЛЯ ПОВЕРХНОСТИ ОПЕРАЦИОННОГО СТОЛА ДЛЯ РАЗМЕЩЕНИЯ ПАЦИЕНТА

Номер публикации патента: 2415661

Вид документа: C2 
Страна публикации: RU 
Рег. номер заявки: 2008136638/12 
  Сделать заказПолучить полное описание патента

Редакция МПК: 
Основные коды МПК: A61G013/10    
Аналоги изобретения: WO 9742876 A1, 20.11.1997. GB 2274242 A, 20.07.1994. WO 9421209 A1, 29.09.1994. RU 2168941 C2, 20.06.2001. RU 2212216 C1, 20.09.2003. 

Имя заявителя: МАКВЕТ ГМБХ УНД КО. КГ (DE) 
Изобретатели: ОЛЖЕВСКИ Ян Донат (DE) 
Патентообладатели: МАКВЕТ ГМБХ УНД КО. КГ (DE) 
Приоритетные данные: 12.09.2007 DE 102007043431.8 

Реферат


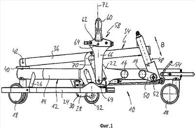
Изобретение относится к медицинской технике. Транспортная тележка для поверхности операционного стола для размещения пациента содержит ходовую часть (10), две расположенные на ней опоры (58), имеющие каждая на своем верхнем конце место (60) стыка для соединения с дополнительным местом стыка на поверхности для размещения пациента, и подъемное устройство (48) для регулирования по высоте мест (60) стыка относительно ходовой части (10). Опоры (58) установлены на поворотной раме (34), расположенной на ходовой части с возможностью поворота вокруг горизонтальной оси (42) и регулирования посредством подъемного устройства (48). При этом опоры (58) соединены каждая с поворотной рамой (34) посредством шарнира (62), имеющего проходящую параллельно оси (42) поворота ось (64) шарнира. Причем опоры (58) выполнены с возможностью их проведения на некотором расстоянии по вертикали от шарнира (62) посредством ролика (68), имеющего проходящую параллельно оси поворота ось (69) ролика, по жестко связанной с ходовой частью направляющей (70) таким образом, что проходящая через ось (64) шарнира и ось (68) ролика перпендикулярно им линия (70) при перемещении поворотной рамы (34) остается вертикальной. Изобретение позволяет регулировать высоту поверхности для размещения пациента при минимальном трении. 5 з.п. ф-лы, 3 ил.

Дирекция сайта "Промышленная Сибирь"
Россия, г.Омск, ул.Учебная, 199-Б, к.408А
Сайт открыт 01.11.2000
© 2000-2018 Промышленная Сибирь
Разработка дизайна сайта:
Дизайн-студия "RayStudio"