Промышленная Сибирь Ярмарка Сибири Промышленность СФО Электронные торги НОУ-ХАУ Электронные магазины Карта сайта
 
 

Поиск патентов

Как искать?
Реферат
Название
Публикация
Регистрационный номер
Имя заявителя
Имя изобретателя
Имя патентообладателя

    





Оформить заказ и задать интересующие Вас вопросы Вы можете напрямую c 6-00 до 14-30 по московскому времени кроме сб, вс. whatsapp 8-950-950-9888

На данной странице представлена ознакомительная часть выбранного Вами патента

Для получения более подробной информации о патенте (полное описание, формула изобретения и т.д.) Вам необходимо сделать заказ. Нажмите на «Корзину»


СИСТЕМА И СПОСОБ ДЛЯ СОЕДИНЕНИЯ КОМПЛЕКТУЮЩЕЙ ДЕТАЛИ С ОПЕРАЦИОННЫМ СТОЛОМ

Номер публикации патента: 2463030

Вид документа: C2 
Страна публикации: RU 
Рег. номер заявки: 2010147261/12 
  Сделать заказПолучить полное описание патента

Редакция МПК: 
Основные коды МПК: A61G013/00    
Аналоги изобретения: US 5083331 А, 28.01.1992. RU 2338500 С2, 20.11.2008. RU 2340322 C2, 10.12.2008. RU 2239104 C2, 27.10.2004. RU 2255722 C1, 10.07.2005. 

Имя заявителя: МАКВЕТ ГМБХ УНД КО. КГ (DE) 
Изобретатели: ОЛЖЕВСКИ Ян Донат (DE) 
Патентообладатели: МАКВЕТ ГМБХ УНД КО. КГ (DE) 
Приоритетные данные: 19.11.2009 DE 102009053966.2 

Реферат


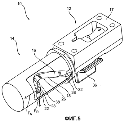
Группа изобретений относится к области соединения конструктивных элементов и предназначена для соединения комплектующей детали с операционным столом. Система содержит предназначенную для соединения с операционным столом комплектующую деталь, имеющую соединительный элемент (12, 16), а один из конструктивных элементов операционного стола включает приемную область (14) для размещения, по меньшей мере, одной области соединительного элемента (12, 16). Захватный элемент (22, 24) выступает сбоку из соединительного элемента (12, 16). Приемная область (14) имеет, по меньшей мере, одну направляющую (18, 20), в которой захватный элемент (22, 24) при вводе, по меньшей мере, одной области соединительного элемента (12, 16) входит в приемную область (14). Упругодеформируемый элемент (52) при своей деформации оказывает усилие на захватный элемент (22, 24). За счет усилия, оказываемого на захватный элемент (22, 24), и за счет прохождения направляющей (18, 20) при соединении, создаваемом между комплектующей деталью (12) и приемной областью (14), на соединительный элемент (12, 16) оказывается усилие (F A), действующее в направлении (Р2) ввода. Объектом изобретения также является способ соединения комплектующей детали с операционным столом. Группа изобретений позволяет повысить надежность соединения комплектующей детали с операционным столом за счет надежной фиксации соединительного элемента в приемной области и устранения зазора между ними. 2 н. и 8 з.п. ф-лы, 11 ил.

Дирекция сайта "Промышленная Сибирь"
Россия, г.Омск, ул.Учебная, 199-Б, к.408А
Сайт открыт 01.11.2000
© 2000-2018 Промышленная Сибирь
Разработка дизайна сайта:
Дизайн-студия "RayStudio"