Промышленная Сибирь Ярмарка Сибири Промышленность СФО Электронные торги НОУ-ХАУ Электронные магазины Карта сайта
 
 

Поиск патентов

Как искать?
Реферат
Название
Публикация
Регистрационный номер
Имя заявителя
Имя изобретателя
Имя патентообладателя

    





Оформить заказ и задать интересующие Вас вопросы Вы можете напрямую c 6-00 до 14-30 по московскому времени кроме сб, вс. whatsapp 8-950-950-9888

На данной странице представлена ознакомительная часть выбранного Вами патента

Для получения более подробной информации о патенте (полное описание, формула изобретения и т.д.) Вам необходимо сделать заказ. Нажмите на «Корзину»


ИНСТРУМЕНТ ДЛЯ ВВЕДЕНИЯ СУСТАВНЫХ ВПАДИН ПРОТЕЗА

Номер публикации патента: 2435552

Вид документа: C2 
Страна публикации: RU 
Рег. номер заявки: 2009101823/14 
  Сделать заказПолучить полное описание патента

Редакция МПК: 
Основные коды МПК: A61F002/46    
Аналоги изобретения: FR 2809305 A1, 30.11.2001. RU 2005119315 А, 10.01.2007. RU 2131712 С1, 20.06.1999. DE 19722923 А1, 13.08.1998. DE 19704577 A1, 13.08.1998. FR 2797180 A1, 09.02.2001. DE 19824328 C1, 09.03.2000. 

Имя заявителя: ВАЛЬДЕМАР ЛИНК ГМБХ УНД КО. КГ (DE) 
Изобретатели: КЕЛЛЕР Арнольд (DE) 
Патентообладатели: ВАЛЬДЕМАР ЛИНК ГМБХ УНД КО. КГ (DE) 
Приоритетные данные: 28.06.2006 DE 202006010069.5 

Реферат


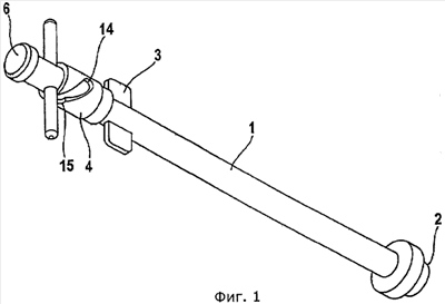
Изобретение относится медицине. Инструмент для введения суставных впадин протезов содержит удлиненный стержень (1), на переднем конце которого предусмотрена всасывающая головка (2, 2) для соединения с суставной впадиной, всасывающее устройство (10) с направляемым в стержне (1) поршнем (11), всасывающий канал (17), выходящий во всасывающей головке (2, 2), и исполнительный элемент (12), направляемый по направляющей (14) на стержне (1). Указанная направляющая (14) выполнена в форме спирали и имеет средство фиксации исполнительного элемента (12) в положении всасывания. Изобретение обеспечивает повышение надежности манипулирования инструмента и облегчает это манипулирование. 11 з.п. ф-лы, 4 ил.

Дирекция сайта "Промышленная Сибирь"
Россия, г.Омск, ул.Учебная, 199-Б, к.408А
Сайт открыт 01.11.2000
© 2000-2018 Промышленная Сибирь
Разработка дизайна сайта:
Дизайн-студия "RayStudio"