|
На данной странице представлена ознакомительная часть выбранного Вами патента
Для получения более подробной информации о патенте (полное описание, формула изобретения и т.д.) Вам необходимо сделать заказ. Нажмите на «Корзину»
| ЩЕТОЧНАЯ ЧАСТЬ ЭЛЕКТРИЧЕСКОЙ ЗУБНОЙ ЩЕТКИ |  |
Номер публикации патента: 2161460 |  |
| Редакция МПК: | 7 | | Основные коды МПК: | A61C017/26 A46B009/04 | | Аналоги изобретения: | WO 94/21192 A1, 29.09.1994. |
| Имя заявителя: | Браун ГмбХ (DE) | | Изобретатели: | Кресснер Герхард (DE) Дризен Георгес (DE) | | Патентообладатели: | Браун ГмбХ (DE) | | Номер конвенционной заявки: | 195 23 016.7 | | Страна приоритета: | DE |
Реферат |  |
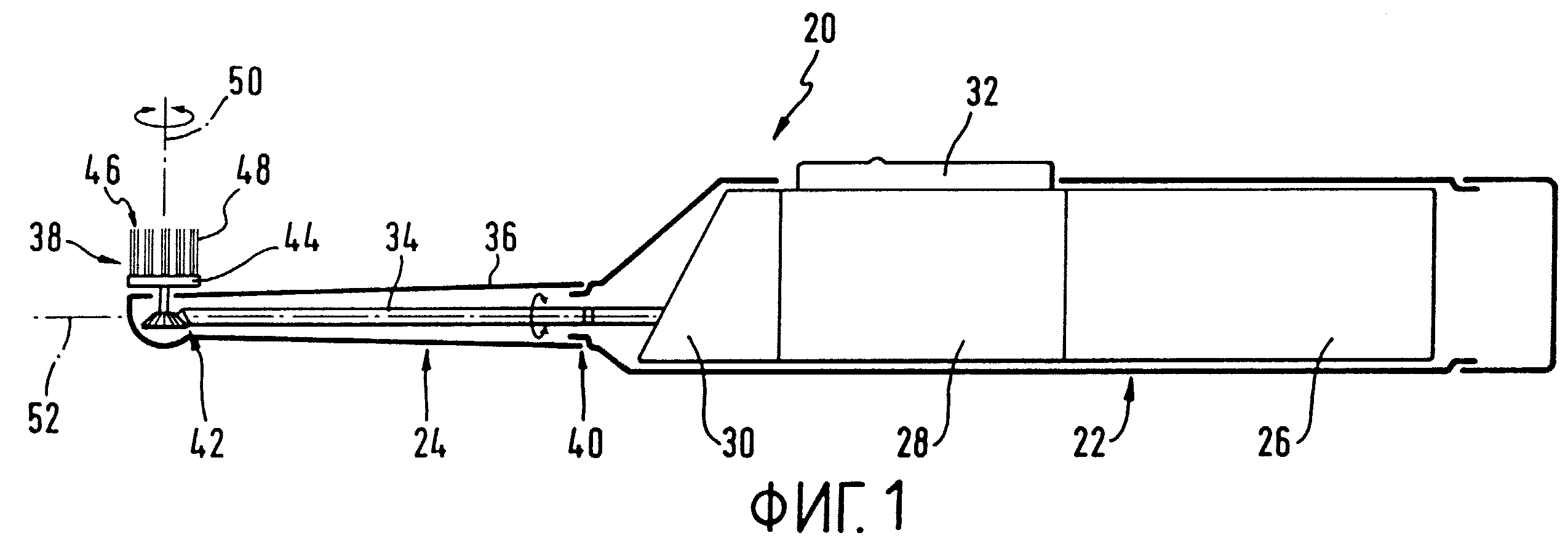
Изобретение относится к щеточной части электрической зубной щетки. Щеточная часть электрической зубной щетки с ручкой выполнена с возможностью соединения с держателем щетины. Держатель щетины выполнен в форме диска и имеет на верхней стороне в одном центральном кольце и наружном кольце пучки щетины. На наружном кольце держателя щетины размещены пучки щетины разной длины. Держатель щетины может совершать из центральной позиции вращательное переменно осцилирующее движение вокруг оси вращения. Изобретение позволяет повысить эффективность чистки зубов. 23 з.п. ф-лы, 5 ил.
|