Промышленная Сибирь Ярмарка Сибири Промышленность СФО Электронные торги НОУ-ХАУ Электронные магазины Карта сайта
 
 

Поиск патентов

Как искать?
Реферат
Название
Публикация
Регистрационный номер
Имя заявителя
Имя изобретателя
Имя патентообладателя

    





Оформить заказ и задать интересующие Вас вопросы Вы можете напрямую c 6-00 до 14-30 по московскому времени кроме сб, вс. whatsapp 8-950-950-9888

На данной странице представлена ознакомительная часть выбранного Вами патента

Для получения более подробной информации о патенте (полное описание, формула изобретения и т.д.) Вам необходимо сделать заказ. Нажмите на «Корзину»


ИМПЛАНТАТ С ОДНИМ ИЛИ НЕСКОЛЬКИМИ ЭЛЕКТРОДАМИ И СООТВЕТСТВУЮЩИЙ УСТАНОВОЧНЫЙ ИНСТРУМЕНТ

Номер публикации патента: 2365353

Вид документа: C2 
Страна публикации: RU 
Рег. номер заявки: 2007110729/14 
  Сделать заказПолучить полное описание патента

Редакция МПК: 
Основные коды МПК: A61B017/86    
Аналоги изобретения: ЕР 0781532 А, 07.02.1997. RU 2199978 C2, 10.03.2003. RU 2153864 C2, 10.08.2000. DE 3414992 A1, 31.10.1985. GB 2356051 A, 09.05.2001. US 2003/229354 A1, 12.11.2003. US 6030162 A, 29.02.2000. 

Имя заявителя: СПИНЕВИЗЬОН (FR) 
Изобретатели: БУРЛЬОН Морис (FR) 
Патентообладатели: СПИНЕВИЗЬОН (FR) 
Приоритетные данные: 25.08.2004 FR 0409092 

Реферат


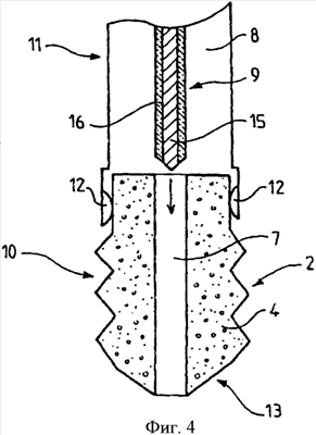
Группа изобретений относится к медицине. Имплантат (1), предназначенный для вживления в анатомическую, в частности костную, структуру по первому варианту содержит по меньшей мере два электрода (4, 5), которые отделены друг от друга изоляционным материалом (6) и расположены вровень с поверхностью имплантата (1) с обеспечением отслеживания и направления перемещения имплантата (1) в ходе его вживления в анатомическую структуру. Имплантат (10), предназначенный для вживления в анатомическую структуру, в частности в костную структуру, по второму варианту представляет собой тело, имеющее проходящий через него канал (7), в котором может быть размещена часть установочного инструмента, содержащая электрод. Тело (2) имплантата (10) содержит электрод (4), расположенный вровень по меньшей мере с частью периферийной поверхности указанного тела (2). Установочный инструмент (11), предназначенный для установки имплантата (1) в анатомической структуре, в частности в костной анатомической структуре, по первому варианту содержит средства соединения с источником питания электродов (4, 5) имплантата (1), когда имплантат (1) находится в контакте с указанным инструментом (11), и средства соединения со средством измерения импеданса между указанными электродами (4, 5). Установочный инструмент (11), предназначенный для установки имплантата (10) в анатомической структуре, в частности в костной анатомической структуре, по второму варианту содержит внутреннюю продольную часть (9), выполненную с возможностью размещения в канале (7) указанного имплантата (10) и образованную электродом (15), средства соединения с источником питания электрода (15) инструмента (11) и электрода (4) имплантата (10), когда имплантат (10) находится в контакте с указанным инструментом (11), и средства соединения со средством измерения импеданса между указанными электродами (14. 15). Изобретения обеспечивают возможность слежения и направленного перемещения имплантата в процессе его вживления в костную структуру, которая сверлится либо непосредственно имплантатом в ходе его установки, либо в процессе специальной предварительной операции. 4 н. и 15 з.п. ф-лы, 4 ил.

Дирекция сайта "Промышленная Сибирь"
Россия, г.Омск, ул.Учебная, 199-Б, к.408А
Сайт открыт 01.11.2000
© 2000-2018 Промышленная Сибирь
Разработка дизайна сайта:
Дизайн-студия "RayStudio"