|
На данной странице представлена ознакомительная часть выбранного Вами патента
Для получения более подробной информации о патенте (полное описание, формула изобретения и т.д.) Вам необходимо сделать заказ. Нажмите на «Корзину»
| ХИРУРГИЧЕСКИЙ СШИВАЮЩИЙ АППАРАТ |  |
Номер публикации патента: 2167617 |  |
| Редакция МПК: | 7 | | Основные коды МПК: | A61B017/072 | | Аналоги изобретения: | SU 371926, A, 17.05.1973. US 4617928 A, 21.10.1986. US 4606345 A, 19.08.1986. FR 2586553 A1, 06.03.1987. SU 1398842 A, 30.03.1988. |
| Имя заявителя: | Черноусов Александр Федорович | | Изобретатели: | Черноусов А.Ф. Черноусов Ф.А. Нефедов А.П. Федотов В.М. | | Патентообладатели: | Черноусов Александр Федорович Черноусов Федор Александрович Нефедов Андрей Павлович Федотов Владимир Михайлович |
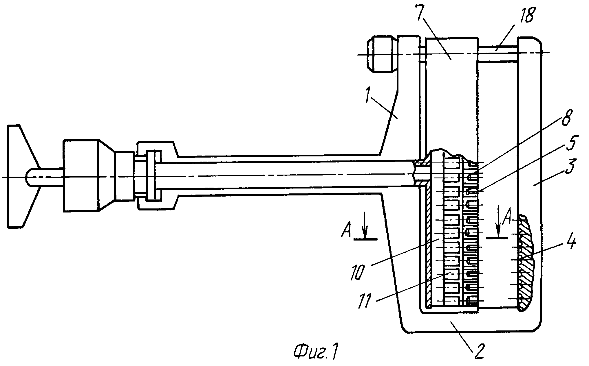
Реферат |  |
Изобретение относится к медицинской технике, а именно к хирургическим сшивающим аппаратам, которые используют для ушивания органов при хирургических операциях. Аппарат содержит упорный корпус, у оснований которого выполнен крюк с лунками для загиба скобок. С помощью винтового привода вдоль упорного корпуса перемещают скобочный корпус со сменной кассетой. Кассета имеет пазы со скобками. С помощью винтового привода вдоль скобочного корпуса перемещают толкатель с пластинами для выталкивания скобок из скобочной кассеты при сшивании. На толкателе между рядами пластин установлен нож с режущей кромкой таким образом, что с одной стороны от него два ряда пластин, а с другой - один ряд. При наложении шва нож входит в паз на скобочной кассете, рассекает сшиваемую ткань органа и далее входит в паз на крюке для исключения затупления режущей кромки. В пазу скобочной кассеты имеется перемычка, которую рассекают ножом для приведения в негодность скобочной кассеты. Для удержания хирургического сшивающего аппарата в руке выполнена рукоятка. Чтобы исключить отгибание крюка от нагрузки при загибании скобок при прошивании и исключения выскальзывания биологической ткани из зоны шва, конец крюка соединен винтом с упорным корпусом. В результате аппарат обеспечивает наложение на оставшуюся часть органа двухрядного шва, в котором один из рядов, который ближе к отсекаемому краю, плотнее ушивает ткань, чем второй ряд, а также возможность разрушения кассеты для скобок после наложения швов. 4 ил.
|