Промышленная Сибирь Ярмарка Сибири Промышленность СФО Электронные торги НОУ-ХАУ Электронные магазины Карта сайта
 
 

Поиск патентов

Как искать?
Реферат
Название
Публикация
Регистрационный номер
Имя заявителя
Имя изобретателя
Имя патентообладателя

    





Оформить заказ и задать интересующие Вас вопросы Вы можете напрямую c 6-00 до 14-30 по московскому времени кроме сб, вс. whatsapp 8-950-950-9888

На данной странице представлена ознакомительная часть выбранного Вами патента

Для получения более подробной информации о патенте (полное описание, формула изобретения и т.д.) Вам необходимо сделать заказ. Нажмите на «Корзину»


СПОСОБ НЕКОНТАКТНОГО ИЗМЕРЕНИЯ ПАРАМЕТРОВ КРОВОТОКА, УСТРОЙСТВО ДЛЯ ЕГО ОСУЩЕСТВЛЕНИЯ И МИКРОЭЛЕКТРОННЫЙ МАГНИТНЫЙ ДАТЧИК

Номер публикации патента: 2378985

Вид документа: C1 
Страна публикации: RU 
Рег. номер заявки: 2008123634/14 
  Сделать заказПолучить полное описание патента

Редакция МПК: 
Основные коды МПК: A61B005/022   A61B005/0265    
Аналоги изобретения: RU 2040207 C1, 25.07.1995. US 3739640 A, 19.06.1973. WO 2008/033099 A1, 20.03.2008. US 3659591 A, 02.05.1972. GB 1365129 A, 29.08.1974. 

Имя заявителя: Институт автоматики и процессов управления Дальневосточного отделения Российской академии наук (ИАПУ ДВО РАН) (RU) 
Изобретатели: Розенбаум Анатолий Наумович (RU)
Коваль Василий Трофимович (RU)
Никитин Александр Иванович (RU) 
Патентообладатели: Институт автоматики и процессов управления Дальневосточного отделения Российской академии наук (ИАПУ ДВО РАН) (RU) 

Реферат


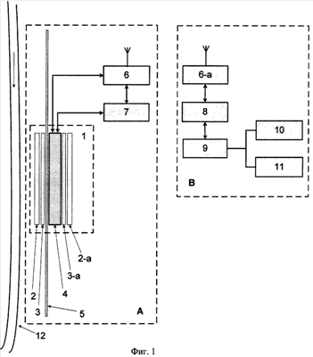
Изобретения относятся к медицинской технике и предназначены для длительного непрерывного неконтактного измерения параметров кровотока. Способ предусматривает измерение напряженности магнитного поля, создаваемого пульсирующим движением крови на участке артерии, и пересчета значений напряженности магнитного поля в значения артериального давления и частоту сердечных сокращений с помощью программно-алгоритмического аппарата. Используя радиосредства, передают измеренную информацию в цифровом виде от пациента на рабочее место врача и рассчитывают параметры кровотока - артериальное давление и частоту сердечных сокращений. Для осуществления указанного способа устройство содержит микроэлектронный магнитный датчик, снабженный приемопередатчиком радиосигналов, блок питания, узел обработки измерительной информации, установленный непосредственно в ЭВМ и выполненный в виде отдельной платы с размещенным на ней приемопередатчиком, и блок визуализации. Датчик, устанавливаемый в непосредственной близости над артерией, выполнен на основе тонкопленочных резистивных магниточувствительных элементов. Кроме того, датчик содержит прецизионные малошумящие усилители тока, датчики температуры, схему компенсации помех, сигнальный процессор, радиостанцию пакетной передачи данных, схему обработки измерительной информации, ее визуализации и архивации. Изобретения обеспечивают возможность одновременного длительного контроля гемодинамических параметров группы людей, а также неконтактное измерение параметров кровотока компактным микроэлектронным магнитным датчиком в бытовых, производственных и клинических условиях без влияния синдрома "белого халата". 3 н. и 4 з.п. ф-лы, 6 ил.

Дирекция сайта "Промышленная Сибирь"
Россия, г.Омск, ул.Учебная, 199-Б, к.408А
Сайт открыт 01.11.2000
© 2000-2018 Промышленная Сибирь
Разработка дизайна сайта:
Дизайн-студия "RayStudio"