Промышленная Сибирь Ярмарка Сибири Промышленность СФО Электронные торги НОУ-ХАУ Электронные магазины Карта сайта
 
 

Поиск патентов

Как искать?
Реферат
Название
Публикация
Регистрационный номер
Имя заявителя
Имя изобретателя
Имя патентообладателя

    





Оформить заказ и задать интересующие Вас вопросы Вы можете напрямую c 6-00 до 14-30 по московскому времени кроме сб, вс. whatsapp 8-950-950-9888

На данной странице представлена ознакомительная часть выбранного Вами патента

Для получения более подробной информации о патенте (полное описание, формула изобретения и т.д.) Вам необходимо сделать заказ. Нажмите на «Корзину»


МЕЛЬНИЦА (УСТРОЙСТВО И СПОСОБ ПОМОЛА)

Номер публикации патента: 2388398

Вид документа: C1 
Страна публикации: RU 
Рег. номер заявки: 2008140845/12 
  Сделать заказПолучить полное описание патента

Редакция МПК: 
Основные коды МПК: A47J042/00   B82B003/00    
Аналоги изобретения: RU 2110943 C1, 20.05.1998. SU 843938 A1, 07.07.1981. RU 2033742 C1, 30.04.1995. RU 2033741 C1, 30.04.1995. CA 2461514 A1, 19.09.2005. GB 2393671 A, 07.04.2004. GB 2447962 A, 01.10.2008. 

Имя заявителя: Российская Академия сельскохозяйственных наук Государственное научное учреждение Всероссийский научно-исследовательский институт электрификации сельского хозяйства (ГНУ ВИЭСХ РОССЕЛЬХОЗАКАДЕМИИ) (RU),
Антуфьев Игорь Александрович (RU) 
Изобретатели: Антуфьев Игорь Александрович (RU) 
Патентообладатели: Российская Академия сельскохозяйственных наук Государственное научное учреждение Всероссийский научно-исследовательский институт электрификации сельского хозяйства (ГНУ ВИЭСХ РОССЕЛЬХОЗАКАДЕМИИ) (RU)
Антуфьев Игорь Александрович (RU) 

Реферат


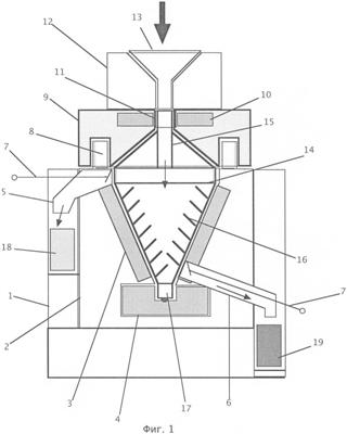
Устройство относится к области получения мелких порошков, в том числе и наноразмерных. Устройство содержит полый, перфорированный, конусообразный ротор электродвигателя, в котором, как в размольной чаше обычных мельниц, осуществляется дезинтеграция вещества до порошка с наноразмерами. Ротор с внутренней стороны выполнен с зубьями или спицами, выполняющими дезинтеграцию более крупных глобул вещества и создающими агрессивные вихревые потоки, которые продолжают размельчение вещества до более мелких размеров. Размолу способствуют также микровибрации ротора, подвешенного на магнитных подшипниках при его скоростном вращении, причем сами магнитные подшипники выполнены с возможностью корректирования вертикальных и горизонтальных микровибраций ротора в заданном алгоритме. Помол ведут' при одновременном воздействии трех факторов: дезинтегрирующее воздействие спиц ротора, агрессивные воздушные или газовые вихри, микровибрации ротора в горизонтальном и вертикальном направлениях. Помол происходит в двух пространствах сразу: внутри полого ротора и в пространстве между ротором и статором. Помол ведут благодаря особенностям устройства сразу в две фракции вещества. Изобретения обеспечивают возможность получения мелкого порошка с дисперсностью менее 100 микрон. 2 н.п. ф-лы, 3 ил.

Дирекция сайта "Промышленная Сибирь"
Россия, г.Омск, ул.Учебная, 199-Б, к.408А
Сайт открыт 01.11.2000
© 2000-2018 Промышленная Сибирь
Разработка дизайна сайта:
Дизайн-студия "RayStudio"