Промышленная Сибирь Ярмарка Сибири Промышленность СФО Электронные торги НОУ-ХАУ Электронные магазины Карта сайта
 
 

Поиск патентов

Как искать?
Реферат
Название
Публикация
Регистрационный номер
Имя заявителя
Имя изобретателя
Имя патентообладателя

    





Оформить заказ и задать интересующие Вас вопросы Вы можете напрямую c 6-00 до 14-30 по московскому времени кроме сб, вс. whatsapp 8-950-950-9888

На данной странице представлена ознакомительная часть выбранного Вами патента

Для получения более подробной информации о патенте (полное описание, формула изобретения и т.д.) Вам необходимо сделать заказ. Нажмите на «Корзину»


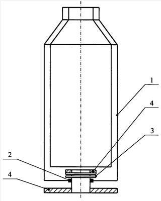
СОСУД С ДВОЙНЫМИ СТЕНКАМИ И ВАКУУМОМ МЕЖДУ НИМИ

Номер публикации патента: 2465804

Вид документа: C2 
Страна публикации: RU 
Рег. номер заявки: 2010141946/12 
  Сделать заказПолучить полное описание патента

Редакция МПК: 
Основные коды МПК: A47J041/02   B65D088/18    
Аналоги изобретения: US 2009229472 А1, 17.09.2009. SU 1220630 А, 30.03.1986. DE 102005010731 А1, 29.09.2005. JP 1085619 А, 30.03.1989. 

Имя заявителя: Веденичев Константин Валентинович (RU) 
Изобретатели: Веденичев Константин Валентинович (RU) 
Патентообладатели: Веденичев Константин Валентинович (RU) 

Реферат


Изобретение относится к бытовым приборам. Устройство представляет собой сосуд (1) с двойными стенками и вакуумом между ними, ко дну внешней стенки которого через теплоизолятор (2) прикреплен сильфон (3) с теплоносителем. Сильфон имеет наконечники (4). Эластичная часть сильфона находится между двойными стенками, неэластичная выступает снаружи внешней стенки. Между сильфоном и внутренней стенкой сосуда образован зазор. При нагревании сильфон контактирует с внутренней стенкой сосуда, передавая тепло посредством теплоносителя. Сосуд позволяет сохранять температуру содержимого, а при необходимости изменять ее, нагревая сосуд снаружи. 4 з.п. ф-лы, 1 ил.

Дирекция сайта "Промышленная Сибирь"
Россия, г.Омск, ул.Учебная, 199-Б, к.408А
Сайт открыт 01.11.2000
© 2000-2018 Промышленная Сибирь
Разработка дизайна сайта:
Дизайн-студия "RayStudio"