Промышленная Сибирь Ярмарка Сибири Промышленность СФО Электронные торги НОУ-ХАУ Электронные магазины Карта сайта
 
 

Поиск патентов

Как искать?
Реферат
Название
Публикация
Регистрационный номер
Имя заявителя
Имя изобретателя
Имя патентообладателя

    





Оформить заказ и задать интересующие Вас вопросы Вы можете напрямую c 6-00 до 14-30 по московскому времени кроме сб, вс. whatsapp 8-950-950-9888

На данной странице представлена ознакомительная часть выбранного Вами патента

Для получения более подробной информации о патенте (полное описание, формула изобретения и т.д.) Вам необходимо сделать заказ. Нажмите на «Корзину»


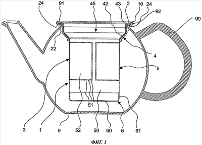
СМЕННЫЙ ФИЛЬТРУЮЩИЙ ЭЛЕМЕНТ

Номер публикации патента: 2380998

Вид документа: C1 
Страна публикации: RU 
Рег. номер заявки: 2008127907/12 
  Сделать заказПолучить полное описание патента

Редакция МПК: 
Основные коды МПК: A47J031/06    
Аналоги изобретения: DE 8900513 U1, 23.03.1989. US 2788733 A, 16.04.1957. JP 11290214 A, 26.10.1999. RU 2225154 C2, 10.03.2004. 

Имя заявителя: ПиАй-ДИЗАЙН АГ (CH) 
Изобретатели: БОДУМ Йорген (CH) 
Патентообладатели: ПиАй-ДИЗАЙН АГ (CH) 

Реферат


Изобретение относится к вставному фильтрующему элементу для введения в отверстие сосуда, с целью приготовления напитков посредством экстрагирования. Указанный фильтрующий элемент содержит обод и корпус, в котором выполнены фильтрующие каналы. Боковой поверхности обода придан волнообразный эластичный наружный контур, обеспечивающий пластичную адаптацию вставного элемента к внутреннему размеру вводного отверстия сосуда. Вставной фильтрующий элемент можно вставить в сосуд несложным образом и он во время сливания напитка не может выпасть из чайника. 2 н. и 12 з.п. ф-лы, 6 ил.

Дирекция сайта "Промышленная Сибирь"
Россия, г.Омск, ул.Учебная, 199-Б, к.408А
Сайт открыт 01.11.2000
© 2000-2018 Промышленная Сибирь
Разработка дизайна сайта:
Дизайн-студия "RayStudio"