|
На данной странице представлена ознакомительная часть выбранного Вами патента
Для получения более подробной информации о патенте (полное описание, формула изобретения и т.д.) Вам необходимо сделать заказ. Нажмите на «Корзину»
| УСТРОЙСТВО ДЛЯ УХОДА ЗА ЗУБАМИ СО СМЕННОЙ ОБРАБАТЫВАЮЩЕЙ ЧАСТЬЮ |  |
Номер публикации патента: 2171084 |  |
| Редакция МПК: | 7 | | Основные коды МПК: | A46B007/04 A46B009/04 | | Аналоги изобретения: | DE 3724640 A1, 02.02.1989. GB 2044089 A, 15.10.1980. FR 2654597 A1, 24.05.1991. DE 3416874 A1, 14.11.1985. EP 0130252 A1, 05.07.1983. DE 4434617 A1, 04.04.1996. |
| Имя заявителя: | КОРОНЕТ-ВЕРКЕ ГМБХ (DE) | | Изобретатели: | ВАЙРАУХ Георг (DE) | | Патентообладатели: | КОРОНЕТ-ВЕРКЕ ГМБХ (DE) | | Номер конвенционной заявки: | 19624962.7 | | Страна приоритета: | DE | | Патентный поверенный: | Томская Елена Владимировна |
Реферат |  |
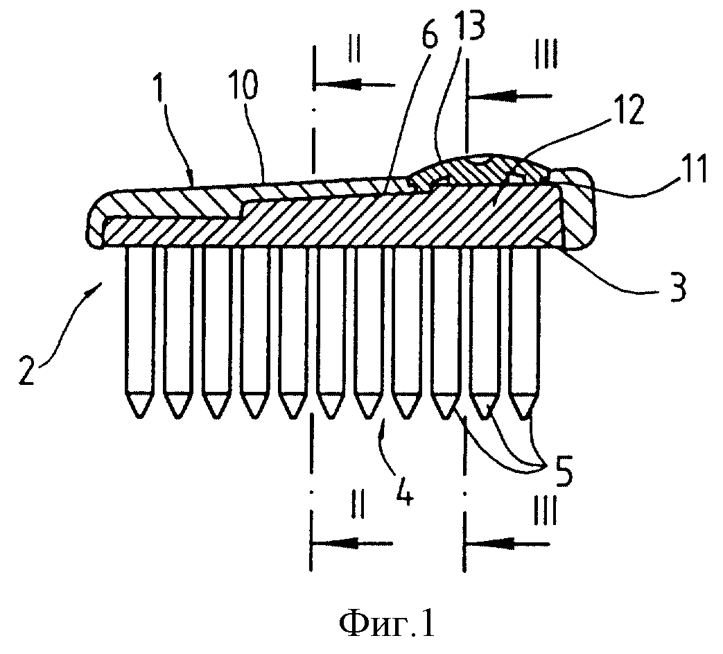
Устройство для ухода за зубами содержит ручку, головку и выполненную с возможностью фиксированного размещения в желобе головки обрабатывающую часть, которая может быть вытолкнута с помощью расположенного на тыльной стороне головки пружинящего нажимного элемента, который при оказании на него давления воздействует на тыльную сторону обрабатывающей части. Головка имеет на стороне закрытое нажимным элементом отверстие, в которое входит обрабатывающая часть. Нажимной элемент выполнен в виде упругой шайбы из пластмассы и ее периферийной кромкой герметично закреплен на стенке отверстия, что повышает гигиенические свойства щетки и улучшает ее потребительские свойства. 8 з.п. ф-лы, 4 ил.
|