Промышленная Сибирь Ярмарка Сибири Промышленность СФО Электронные торги НОУ-ХАУ Электронные магазины Карта сайта
 
 

Поиск патентов

Как искать?
Реферат
Название
Публикация
Регистрационный номер
Имя заявителя
Имя изобретателя
Имя патентообладателя

    





Оформить заказ и задать интересующие Вас вопросы Вы можете напрямую c 6-00 до 14-30 по московскому времени кроме сб, вс. whatsapp 8-950-950-9888

На данной странице представлена ознакомительная часть выбранного Вами патента

Для получения более подробной информации о патенте (полное описание, формула изобретения и т.д.) Вам необходимо сделать заказ. Нажмите на «Корзину»


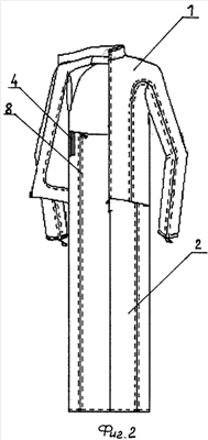
КОМБИНЕЗОН ДЛЯ ДЕТЕЙ - ИНВАЛИДОВ

Номер публикации патента: 2462965

Вид документа: C1 
Страна публикации: RU 
Рег. номер заявки: 2011121326/12 
  Сделать заказПолучить полное описание патента

Редакция МПК: 
Основные коды МПК: A41D011/00    
Аналоги изобретения: RU 67824 U1, 10.11.2007. RU 68252 U1, 27.11.2007. RU 94420 U1, 27.05.2010. WO 2006072450 A2, 13.07.2006. 

Имя заявителя: Приходченко Оксана Валентиновна (RU) 
Изобретатели: Приходченко Оксана Валентиновна (RU)
Федосеева Светлана Аркадьевна (RU) 
Патентообладатели: Приходченко Оксана Валентиновна (RU) 

Реферат


Изобретение относится к одежде, а именно к конструкции комбинезона для детей с детским церебральным параличом. Комбинезон для детей-инвалидов представляет собой комплект, состоящий из куртки и брюк: куртка, имеющая спинку, полочки, рукава, воротник-стойку и разъемную застежку-«молнию» впереди, а также комбинированный покрой рукава. Брюки, состоящие из передней и задней половинок, соединенных швами по средней линии, пояса и смещенных относительно средних линий разъемных швов на тесьме-«молнии». Отрезная спинка на уровне талии соединена с отрезным поясом из плотного трикотажного полотна, соединяющим брюки с передом по боковому шву до уровня выше талии, покрой рукава по спинке - реглан, по переду - комбинированный покрой, в котором нижняя часть сделана на основе втачного рукава, верхняя - на основе цельнокроеного. При этом по линии рельефов рукав сделан разъемным на тесьме-«молнии», проходящей от края рукава до низа переда куртки, кроме того, у передней части брюк комбинезона сквозные разъемные швы смещены от центральной линии к боковым швам. Технический результат изобретения - повышение комфортности и удобства. 2 ил.

Дирекция сайта "Промышленная Сибирь"
Россия, г.Омск, ул.Учебная, 199-Б, к.408А
Сайт открыт 01.11.2000
© 2000-2018 Промышленная Сибирь
Разработка дизайна сайта:
Дизайн-студия "RayStudio"