Промышленная Сибирь Ярмарка Сибири Промышленность СФО Электронные торги НОУ-ХАУ Электронные магазины Карта сайта
 
 

Поиск патентов

Как искать?
Реферат
Название
Публикация
Регистрационный номер
Имя заявителя
Имя изобретателя
Имя патентообладателя

    





Оформить заказ и задать интересующие Вас вопросы Вы можете напрямую c 6-00 до 14-30 по московскому времени кроме сб, вс. whatsapp 8-950-950-9888

На данной странице представлена ознакомительная часть выбранного Вами патента

Для получения более подробной информации о патенте (полное описание, формула изобретения и т.д.) Вам необходимо сделать заказ. Нажмите на «Корзину»


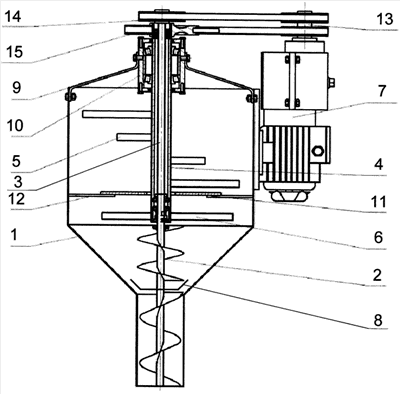
СМЕСИТЕЛЬ - ДОЗАТОР ПРЕСС - ЭКСТРУДЕРА

Номер публикации патента: 2435461

Вид документа: C1 
Страна публикации: RU 
Рег. номер заявки: 2010125628/13 
  Сделать заказПолучить полное описание патента

Редакция МПК: 
Основные коды МПК: A23N017/00    
Аналоги изобретения: RU 2349233 C1, 20.03.2009. RU 2297780 C2, 27.04.2007. SU 1271485 A1, 23.11.1986. RU 2225144 C2, 10.03.2004. 

Имя заявителя: Федеральное государственное образовательное учреждение высшего профессионального образования "Саратовский государственный аграрный университет имени Н.И. Вавилова" (RU) 
Изобретатели: Иноземцева Любовь Валерьевна (RU)
Коновалов Владимир Викторович (RU)
Новиков Владимир Васильевич (RU)
Мальцев Геннадий Сергеевич (RU)
Азиаткин Дамир Нариманович (RU)
Симченкова Светлана Павловна (RU) 
Патентообладатели: Федеральное государственное образовательное учреждение высшего профессионального образования "Саратовский государственный аграрный университет имени Н.И. Вавилова" (RU) 

Реферат


Изобретение относится к кормопроизводству, в частности к экструдированию измельченных кормовых продуктов при их переработке для скармливания животным. Смеситель-дозатор содержит бункер, шнек, вал вращения которого охвачен полым приводным валом с гарантированным зазором, закрепленные на приводном валу радиально расположенные лопатки, на нижнем конце вала жесткую полосу в виде спирали и привод. Шнек выполнен с различным шагом и направлением навивки. Верхняя навивка имеет меньший шаг, чем нижняя. Лопатки расположены в шахматном порядке и смещены (повернуты относительно друг друга) в горизонтальной плоскости. Полосы выполнены в виде спирали, закрученной в сторону, противоположную направлению вращения. Вал вращения шнека снабжен радиальными сводоразрушающими лопастями. Использование изобретения позволит повысить качество смешивания компонентов кормов. 1ил.

Дирекция сайта "Промышленная Сибирь"
Россия, г.Омск, ул.Учебная, 199-Б, к.408А
Сайт открыт 01.11.2000
© 2000-2018 Промышленная Сибирь
Разработка дизайна сайта:
Дизайн-студия "RayStudio"