Промышленная Сибирь Ярмарка Сибири Промышленность СФО Электронные торги НОУ-ХАУ Электронные магазины Карта сайта
 
 

Поиск патентов

Как искать?
Реферат
Название
Публикация
Регистрационный номер
Имя заявителя
Имя изобретателя
Имя патентообладателя

    





Оформить заказ и задать интересующие Вас вопросы Вы можете напрямую c 6-00 до 14-30 по московскому времени кроме сб, вс. whatsapp 8-950-950-9888

На данной странице представлена ознакомительная часть выбранного Вами патента

Для получения более подробной информации о патенте (полное описание, формула изобретения и т.д.) Вам необходимо сделать заказ. Нажмите на «Корзину»


СПОСОБ И УСТАНОВКА ДЛЯ ПРОИЗВОДСТВА ЭКСПАНДИРОВАННЫХ КОМБИКОРМОВ

Номер публикации патента: 2372789

Вид документа: C1 
Страна публикации: RU 
Рег. номер заявки: 2008117912/13 
  Сделать заказПолучить полное описание патента

Редакция МПК: 
Основные коды МПК: A23K001/00   A23N017/00    
Аналоги изобретения: RU 2262243 C1, 20.10.2005. МИШУРОВ Н.П. Перспективные технологии тепловой обработки комбикормов. ФГНУ «Росинформагротех». - М.: 2006, с.36-38, 42. RU 2302122 C1, 10.07.2007. RU 2251364 C1, 10.05.2005. SU 1041838 A, 15.09.1983. 

Имя заявителя: Государственное научное учреждение Всероссийский научно-исследовательский и проектно-технологический институт механизации животноводства (RU) 
Изобретатели: Иванов Юрий Анатольевич (RU)
Комарчук Татьяна Владимировна (RU)
Обухова Наталья Владимировна (RU)
Сыроватка Владимир Иванович (RU) 
Патентообладатели: Государственное научное учреждение Всероссийский научно-исследовательский и проектно-технологический институт механизации животноводства (RU) 

Реферат


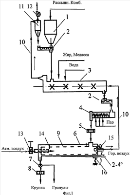
Изобретение относится к способам приготовления экспандированных кормов в животноводческих хозяйствах и на межхозяйственных комбикормовых предприятиях. Способ включает дозирование кормов, их нормализацию, экспандирование, тепловую обработку, структурирование и охлаждение. Тепловую обработку рассыпного комбикорма осуществляют последовательно предварительным нагревом в смесителе-нормализаторе до температуры 60-70° посредством теплоносителя и дальнейшим нагревом в рабочей камере экспандера за счет подачи пара в необходимом объеме при температуре 110-120°. Воздух-теплоноситель подогревают в теплообменнике подачей атмосферного воздуха, проходящего в противотоке горячим гранулам экспандированного комбикорма и омывающего их посредством передачи ему тепла конвективным способом от горячих гранул при их остывании и утилизируют через тепловую магистраль в смеситель-нормализатор. Нагрев теплоносителя и охлаждение гранул регулируют так, чтобы температура гранул на выходе была в пределах 30-40°, а степень охлаждения гранул регулируют количеством подачи атмосферного воздуха и скоростью перемещения в теплообменнике охлаждаемых гранул комбикормов. Установка содержит приемный бункер, дозатор, смеситель-нормализатор, экспандер, охладитель, циклон с вентилятором. Внутри охладителя выполнен теплообменник в виде прямоугольной трубы по форме внутренней части корпуса охладителя с соотношением высоты трубы к ее ширине 1:3-1:4. Охладитель установлен с наклоном 2-4°. На его верхнем торце в верхней части установлен электровибратор, а в нижней части имеется устройство регулирования угла наклона. Внутренняя полость теплообменника в нижней части, посредством механизма дозированной подачи атмосферного воздуха, сообщена с атмосферой, а верхняя торцевая поверхность посредством тепловой магистрали - со смесителем-нормализатором и всасывающим патрубком циклона. Использование изобретения позволит повысить качество комбикормов. 2 н.п. ф-лы, 2 ил.

Дирекция сайта "Промышленная Сибирь"
Россия, г.Омск, ул.Учебная, 199-Б, к.408А
Сайт открыт 01.11.2000
© 2000-2018 Промышленная Сибирь
Разработка дизайна сайта:
Дизайн-студия "RayStudio"