Промышленная Сибирь Ярмарка Сибири Промышленность СФО Электронные торги НОУ-ХАУ Электронные магазины Карта сайта
 
 

Поиск патентов

Как искать?
Реферат
Название
Публикация
Регистрационный номер
Имя заявителя
Имя изобретателя
Имя патентообладателя

    





Оформить заказ и задать интересующие Вас вопросы Вы можете напрямую c 6-00 до 14-30 по московскому времени кроме сб, вс. whatsapp 8-950-950-9888

На данной странице представлена ознакомительная часть выбранного Вами патента

Для получения более подробной информации о патенте (полное описание, формула изобретения и т.д.) Вам необходимо сделать заказ. Нажмите на «Корзину»


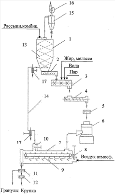
СПОСОБ И УСТАНОВКА ДЛЯ ТЕПЛОВОЙ ОБРАБОТКИ КОМБИКОРМОВ

Номер публикации патента: 2366269

Вид документа: C1 
Страна публикации: RU 
Рег. номер заявки: 2008106693/13 
  Сделать заказПолучить полное описание патента

Редакция МПК: 
Основные коды МПК: A23K001/00   A23N017/00    
Аналоги изобретения: МИШУРОВ Н.П. Перспективные технологии тепловой обработки комбикормов. - М.: ФГНУ «Росинформагротех», 2006, с.36-38, 42. RU 2302122 C1, 10.07.2007. RU 2251364 C1, 10.05.2005. SU 1041838 A, 15.09.1983. 

Имя заявителя: Государственное научное учреждение Всероссийский научно-исследовательский и проектно-технологический институт механизации животноводства (RU) 
Изобретатели: Сыроватка Владимир Иванович (RU)
Комарчук Артем Сергеевич (RU)
Обухов Андрей Дмитриевич (RU) 
Патентообладатели: Государственное научное учреждение Всероссийский научно-исследовательский и проектно-технологический институт механизации животноводства (RU) 

Реферат


Изобретение относится к кормопроизводству и может быть использовано для приготовления гранулированных, экструдированных, экспандированных комбикормов. Способ включает подачу комбикорма в приемный бункер, дозирование в дозаторе, смешивание с добавками в смесителе и нагрев, экспандирование горячей смеси в экспандере до получение массы нужной формы в структураторе, гранулирование ее в грануляторе с образованием комбикорма в виде гранул и охлаждение гранул атмосферным воздухом в охладителе. Тепловую обработку комбикормов осуществляют при поступлении исходного сырья в приемный бункер нагретым от гранул воздухом, направленным по тепловой магистрали из охладителя в теплообменник. Теплообменник размещают в приемном бункере. Теплообмен от теплоносителя к комбикормам происходит через стенки теплообменника по мере перемещения комбикормов в приемном бункере сверху вниз. Процесс нагрева и охлаждения комбикормов регулируют так, чтобы температура охлажденных гранул была в пределах t° 30-40°. Уровень охлаждения гранул регулируют дозированной подачей атмосферного воздуха. Тепловую обработку комбикормов осуществляют в замкнутом цикле. Установка содержит приемный бункер, дозатор, смеситель, экспандер, структуратор, гранулятор, охладитель. Дополнительно установка снабжена теплосистемой. Теплообменник установлен внутри приемного бункера, выполнен в виде змеевика по форме внутренней части бункера. Нижняя часть теплообменника сообщена посредством тепловой магистрали с внутренней полостью охладителя, а верхняя - с всасывающим патрубком циклона с вентилятором. Механизм дозированной подачи атмосферного воздуха установлен в торце охладителя на входе гранул комбикормов, а механизм отбора теплоносителя - на выходе из охладителя. 2 н.п. ф-лы, 1 ил.

Дирекция сайта "Промышленная Сибирь"
Россия, г.Омск, ул.Учебная, 199-Б, к.408А
Сайт открыт 01.11.2000
© 2000-2018 Промышленная Сибирь
Разработка дизайна сайта:
Дизайн-студия "RayStudio"