Промышленная Сибирь Ярмарка Сибири Промышленность СФО Электронные торги НОУ-ХАУ Электронные магазины Карта сайта
 
 

Поиск патентов

Как искать?
Реферат
Название
Публикация
Регистрационный номер
Имя заявителя
Имя изобретателя
Имя патентообладателя

    





Оформить заказ и задать интересующие Вас вопросы Вы можете напрямую c 6-00 до 14-30 по московскому времени кроме сб, вс. whatsapp 8-950-950-9888

На данной странице представлена ознакомительная часть выбранного Вами патента

Для получения более подробной информации о патенте (полное описание, формула изобретения и т.д.) Вам необходимо сделать заказ. Нажмите на «Корзину»


УСТАНОВКА ДЛЯ ИЗГОТОВЛЕНИЯ ТАК НАЗЫВАЕМОГО МЯГКОГО МОРОЖЕНОГО И СПОСОБ ПОДАЧИ СООТВЕТСТВУЮЩЕЙ СМЕСИ

Номер публикации патента: 2438342

Вид документа: C2 
Страна публикации: RU 
Рег. номер заявки: 2010106273/13 
  Сделать заказПолучить полное описание патента

Редакция МПК: 
Основные коды МПК: A23G009/20    
Аналоги изобретения: EP 08818151 A, 14.01.1998. US 3858498 A, 07.01.1975. SU 1463210 A1, 07.03.1989. 

Имя заявителя: Дж.С.Дж. С.р.л. (IT) 
Изобретатели: БРАВО Дженезио (IT)
БРАВО Стефано (IT) 
Патентообладатели: Дж.С.Дж. С.р.л. (IT) 

Реферат


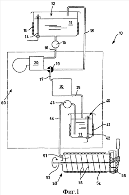
Изобретение относится к пищевой промышленности. Установка для изготовления так называемого мягкого мороженого содержит подающий резервуар (12) для жидкой смеси (11), применимой для приготовления мягкого мороженого, группу устройств для пастеризации смеси и взбивальный барабан (50). Согласно изобретению эта группа устройств включает нагревательное устройство (20) для нагревания смеси в количестве, равном по меньшей мере одной порции продукта, устройство (30, 30') предварительного охлаждения этой нагретой смеси и накопительный резервуар (40, 40') для хранения пастеризованной смеси при постоянной температуре. Изобретение позволяет увеличить экономическую эффективность и сократить время производства. 2 н. и 14 з.п. ф-лы, 6 ил.

Дирекция сайта "Промышленная Сибирь"
Россия, г.Омск, ул.Учебная, 199-Б, к.408А
Сайт открыт 01.11.2000
© 2000-2018 Промышленная Сибирь
Разработка дизайна сайта:
Дизайн-студия "RayStudio"