Промышленная Сибирь Ярмарка Сибири Промышленность СФО Электронные торги НОУ-ХАУ Электронные магазины Карта сайта
 
 

Поиск патентов

Как искать?
Реферат
Название
Публикация
Регистрационный номер
Имя заявителя
Имя изобретателя
Имя патентообладателя

    





Оформить заказ и задать интересующие Вас вопросы Вы можете напрямую c 6-00 до 14-30 по московскому времени кроме сб, вс. whatsapp 8-950-950-9888

На данной странице представлена ознакомительная часть выбранного Вами патента

Для получения более подробной информации о патенте (полное описание, формула изобретения и т.д.) Вам необходимо сделать заказ. Нажмите на «Корзину»


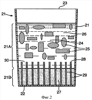
УПАКОВАННЫЙ ПИЩЕВОЙ ПРОДУКТ

Номер публикации патента: 2404689

Вид документа: C2 
Страна публикации: RU 
Рег. номер заявки: 2008107574/13 
  Сделать заказПолучить полное описание патента

Редакция МПК: 
Основные коды МПК: A23L001/24   A23L001/212   A23D007/005   B65D081/32   B65D081/22   B65D077/08    
Аналоги изобретения: WO 98/33399 A, 06.08.1998. WO 95/08492 A, 30.03.1995. EP 0979613 A, 16.02.2000. JP 07083691 B, 13.09.1995. EP 0738472 A, 23.10.1996. EP 0686354 A, 13.12.1995. WO 9324024 A, 09.12.1993. WO 2004/056673 A, 08.07.2004. WO 03/057592 A, 17.07.2003. 

Имя заявителя: ЮНИЛЕВЕР Н.В. (NL) 
Изобретатели: ВАН ГАСТЕЛ Хубертус К. (NL) 
Патентообладатели: ЮНИЛЕВЕР Н.В. (NL) 
Приоритетные данные: 28.07.2005 EP 05076737.5
28.07.2005 EP 05076738.3 

Реферат


Упакованный пищевой продукт представляет собой дрессинг в контейнере и содержит твердую и жидкую части. Жидкая часть содержит водную фазу и масляную фазу, а твердая часть содержит частицы пищи. В стоячем положении контейнера жидкая часть разделяется на верхний слой, содержащий масляную фазу, и нижний слой, содержащий водную фазу, при этом частицы пищи будут взвешиваться в масляной фазе. В контейнере расположен разделитель, выполненный в виде нескольких вертикальных стержней, присоединенных к нижней поверхности контейнера. Верхние концы стержней заканчиваются в слое масляной фазы. Разделитель, по меньшей мере, частично удерживает твердые частицы в масляной фазе, позволяя при этом выливать водную фазу из контейнера. Упакованный продукт согласно изобретению имеет достаточно длительный срок годности, при этом вкус продукта изменяется незначительно. 8 з.п. ф-лы, 1 табл., 4 ил.

Дирекция сайта "Промышленная Сибирь"
Россия, г.Омск, ул.Учебная, 199-Б, к.408А
Сайт открыт 01.11.2000
© 2000-2018 Промышленная Сибирь
Разработка дизайна сайта:
Дизайн-студия "RayStudio"