Промышленная Сибирь Ярмарка Сибири Промышленность СФО Электронные торги НОУ-ХАУ Электронные магазины Карта сайта
 
 

Поиск патентов

Как искать?
Реферат
Название
Публикация
Регистрационный номер
Имя заявителя
Имя изобретателя
Имя патентообладателя

    





Оформить заказ и задать интересующие Вас вопросы Вы можете напрямую c 6-00 до 14-30 по московскому времени кроме сб, вс. whatsapp 8-950-950-9888

На данной странице представлена ознакомительная часть выбранного Вами патента

Для получения более подробной информации о патенте (полное описание, формула изобретения и т.д.) Вам необходимо сделать заказ. Нажмите на «Корзину»


УСТРОЙСТВО ДЛЯ ПРЕДДОИЛЬНОЙ ОБРАБОТКИ ВЫМЕНИ

Номер публикации патента: 2440718

Вид документа: C2 
Страна публикации: RU 
Рег. номер заявки: 2010115757/13 
  Сделать заказПолучить полное описание патента

Редакция МПК: 
Основные коды МПК: A01J007/04    
Аналоги изобретения: US 2754720 А, 17.07.1956. US 3878831 А, 22.04.1975. WO 98/42182 А1, 01.10.1998. RU 2187223 С2, 20.08.2002. SU 357939 А, 19.12.1972. US 4970992 А, 20.11.1990. 

Имя заявителя: Федеральное государственное бюджетное образовательное учреждение высшего профессионального образования "Воронежский государственный аграрный университет имени императора Петра I" (ФГБОУ ВПО Воронежский ГАУ) (RU) 
Изобретатели: Андрианов Алесей Александрович (RU)
Андрианов Евгений Александрович (RU)
Андрианов Александр Максимович (RU) 
Патентообладатели: Федеральное государственное бюджетное образовательное учреждение высшего профессионального образования "Воронежский государственный аграрный университет имени императора Петра I" (ФГБОУ ВПО Воронежский ГАУ) (RU) 

Реферат


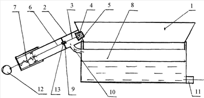
Изобретение относится к сельскому хозяйству. Предложенное устройство для преддоильной обработки вымени содержит дополнительную емкость для кратковременного хранения молока 8, чашу 1 с внутренней черной поверхностью, рукоятку 2, подпружиненный клапанный механизм 3. Клапанный механизм 3 включает клапан 4, гнездо клапана 5, шток 6 и пружину 7, установленные в полости рукоятки 2. Рукоятка 2 разделена перегородкой 9 на две части, одна из которых через гнездо клапана 5, выполненное в чаше 1, и канал 10 сообщена с емкостью 8, снабженной приспособлением для выпуска молока 11. Клапан 4 установлен с возможностью открытия при сливе молока из чаши 1. Изобретение направлено на расширение функциональных возможностей и повышение безопасности использования устройства. 1 ил.

Дирекция сайта "Промышленная Сибирь"
Россия, г.Омск, ул.Учебная, 199-Б, к.408А
Сайт открыт 01.11.2000
© 2000-2018 Промышленная Сибирь
Разработка дизайна сайта:
Дизайн-студия "RayStudio"