|
На данной странице представлена ознакомительная часть выбранного Вами патента
Для получения более подробной информации о патенте (полное описание, формула изобретения и т.д.) Вам необходимо сделать заказ. Нажмите на «Корзину»
| ГОМОГЕНИЗИРУЮЩАЯ ГОЛОВКА |  |
Номер публикации патента: 2170504 |  |
| Редакция МПК: | 7 | | Основные коды МПК: | A01J011/16 | | Аналоги изобретения: | RU 2107432 C1, 27.03.1998. |
| Имя заявителя: | Воронежская государственная технологическая академия | | Изобретатели: | Шевцов А.А. Горяйнов В.В. Федорова О.Н. | | Патентообладатели: | Воронежская государственная технологическая академия |
Реферат |  |
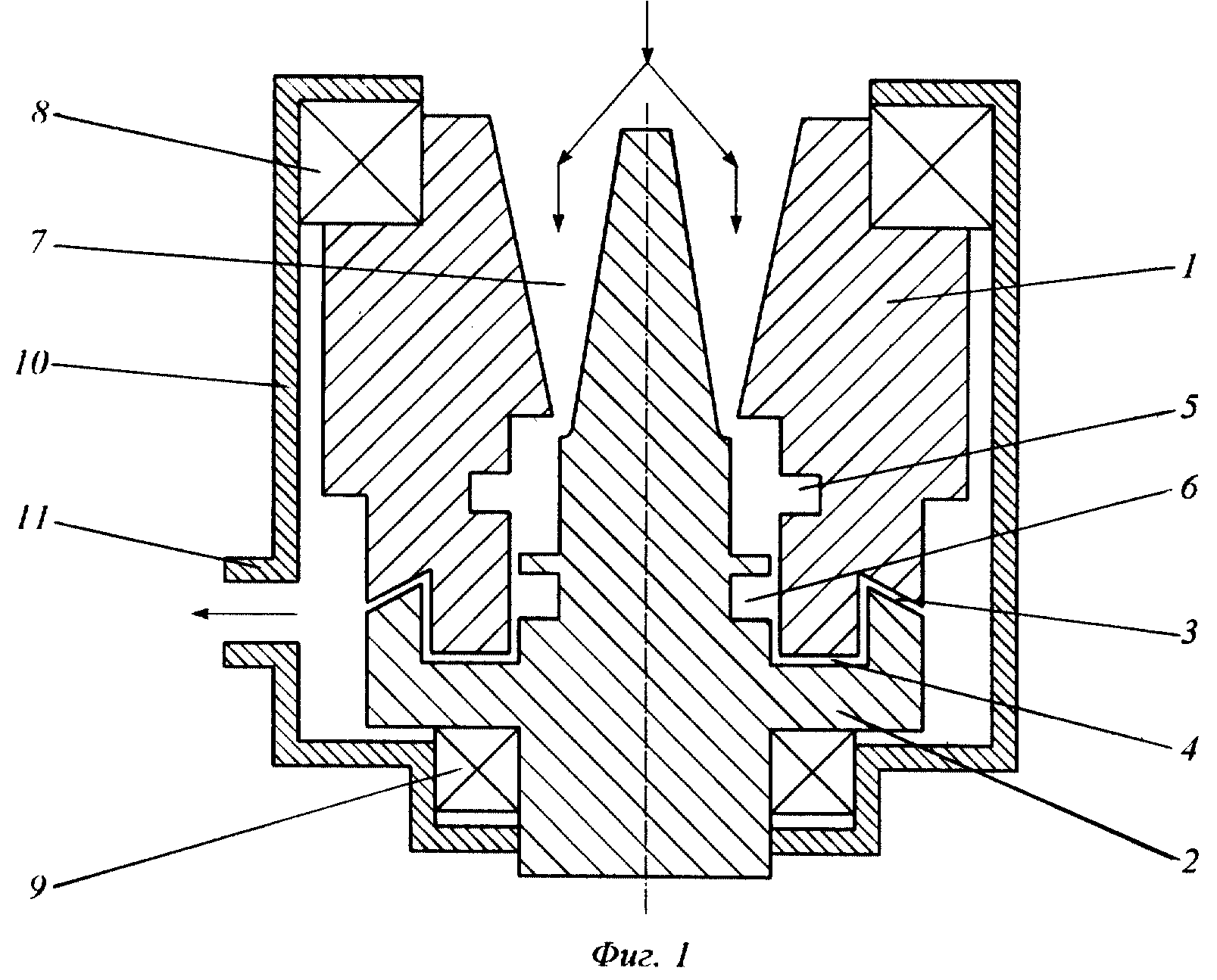
Изобретение относится к пищевой промышленности, а именно к производству мелкодисперсных продуктов - молока, сметаны, майонеза, соков и т.д. Гомогенизирующая головка содержит седло и клапан с расположенной между ними щелью. Щель образована концентрическими кольцевыми проточками седла и клапана и имеет разгрузочную камеру. В верхней части головки расположены проточки для подвода продукта к щели и демпфирующая полость. Седло и клапан выполнены с возможностью вращения в противоположные стороны под действием движущегося потока продукта и установлены в подшипниках, расположенных в неподвижном корпусе. Корпус содержит штуцер для вывода гомогенизированного продукта, при этом проточки для подвода продукта к лабиринтной щели выполнены в виде конфузора, получаемого путем растачивания седла и клапана с образованием конических поверхностей. Вершины конусов направлены в противоположные стороны. По всей длине конических поверхностей седла и клапана под углом к образующим выполнены круглые канавки, направленные в разные стороны у седла и клапана. Изобретение позволяет улучшить качество гомогенизации и повысить производительность. 4 ил.
|