|
На данной странице представлена ознакомительная часть выбранного Вами патента
Для получения более подробной информации о патенте (полное описание, формула изобретения и т.д.) Вам необходимо сделать заказ. Нажмите на «Корзину»
| ИЗМЕЛЬЧИТЕЛЬ СОЛОМЫ ИЗ ВАЛКОВ |  |
Номер публикации патента: 2172581 |  |
| Редакция МПК: | 7 | | Основные коды МПК: | A01F029/00 A01F029/10 | | Аналоги изобретения: | RU 1231644 C, 09.06.1995. SU 1033045 A, 07.08.1983. SU 1639487 A1, 07.04.1991. SU 1796097 A1, 23.02.1993. SU 1639490 A1, 07.04.1991. SU 1158093 A, 30.05.1985. |
| Имя заявителя: | Государственное учреждение Зональный научно-исследовательский институт сельского хозяйства Северо-Востока им. Н.В. Рудницкого | | Изобретатели: | Сысуев В.А. Савиных П.А. Алешкин А.В. Махнев Е.Л. Чернятьев Н.А. | | Патентообладатели: | Государственное учреждение Зональный научно-исследовательский институт сельского хозяйства Северо-Востока им. Н.В. Рудницкого |
Реферат |  |
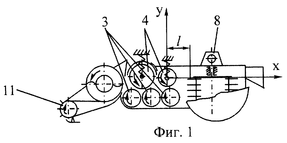
Измельчитель содержит раму и последовательно смонтированные на ней подборщик, питающее устройство и измельчающие рабочие органы. Питающее устройство включает расположенные друг над другом подающие и подпрессовывающие вальцы. Приведена формула для определения расстояния от концов измельчающих рабочих органов до вертикальной оси, проходящей через центр ближнего к ним подпрессовывающего вальца. Измельчитель обеспечивает непрерывность потока материала от питающего устройства к измельчающим рабочим органам и равномерное измельчение соломы. 2 ил.
|