|
На данной странице представлена ознакомительная часть выбранного Вами патента
Для получения более подробной информации о патенте (полное описание, формула изобретения и т.д.) Вам необходимо сделать заказ. Нажмите на «Корзину»
| УСТРОЙСТВО ДЛЯ РУЧНОГО СБОРА ПЛОДОВ С ДЕРЕВЬЕВ |  |
Номер публикации патента: 2182417 |  |
| Редакция МПК: | 7 | | Основные коды МПК: | A01D046/247 | | Аналоги изобретения: | SU 1819529 А, 07.06.1993. SU 906432 А, 28.02.1982. SU 1806534 А1, 07.04.1993. |
| Имя заявителя: | Шолин Юрий Александрович | | Изобретатели: | Шолин Ю.А. | | Патентообладатели: | Шолин Юрий Александрович |
Реферат |  |
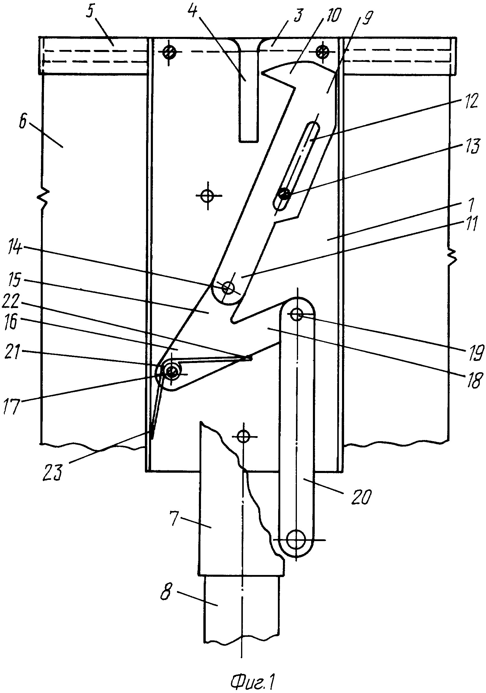
Изобретение относится к области сельскохозяйственного машиностроения и может быть использовано для ручного дистанционного сбора плодов с деревьев. Устройство имеет корпус с двумя параллельными пластинами, отстоящими друг от друга на расстоянии, соизмеримом с длиной плодоножки. В верхней части корпуса выполнен двусторонний двойной захват с выемкой, имеющей параллельные вертикальные кромки и овальные вершины. Между пластинами корпуса установлен подпружиненный трехзвенный кулисный механизм пересечения плодоножки устройства, содержащий Г-образный нож-шатун с лезвием и отогнутой частью, которая выполнена с продольной прорезью, и ось вращения на конце, неподвижный палец, контактирующий с прорезью, и коленчатый рычаг с возвратной пружиной кручения и приводной тягой. Ось вращения на конце отогнутой части Г-образного ножа образует вращательную пару с первым плечом коленчатого рычага, установленного на неподвижной оси вращения, к второму плечу которого, образующему с первым плечом острый угол, прикреплена на оси вращения планка - приводная тяга. Палец и неподвижная ось вращения коленчатого рычага установлены последовательно относительно выемки захвата по разные стороны от ее параллельной проекции. К верхней части корпуса устройства ортогонально ему и соответственно захвату прикреплен жесткий обруч, являющийся горловиной плодопровода, а к противоположной стороне корпуса прикреплен узел крепления к шесту. Изобретение позволяет исключить заклинивание режущего инструмента, уменьшить рабочие нагрузки на элементы механизма пересечения плодоножки. 2 ил.
|