|
На данной странице представлена ознакомительная часть выбранного Вами патента
Для получения более подробной информации о патенте (полное описание, формула изобретения и т.д.) Вам необходимо сделать заказ. Нажмите на «Корзину»
| СТРЯХИВАТЕЛЬ ПЛОДОВ |  |
Номер публикации патента: 2175183 |  |
| Редакция МПК: | 7 | | Основные коды МПК: | A01D046/26 | | Аналоги изобретения: | SU 405501 A, 07.06.1974. SU 1482581 A1, 30.06.1989. SU 1722290 A1, 30.03.1992. |
| Имя заявителя: | Горский государственный аграрный университет | | Изобретатели: | Бесаев А.Н. Кудзиев К.Д. Кудзаев А.Б. Бидеева И.Х. | | Патентообладатели: | Горский государственный аграрный университет |
Реферат |  |
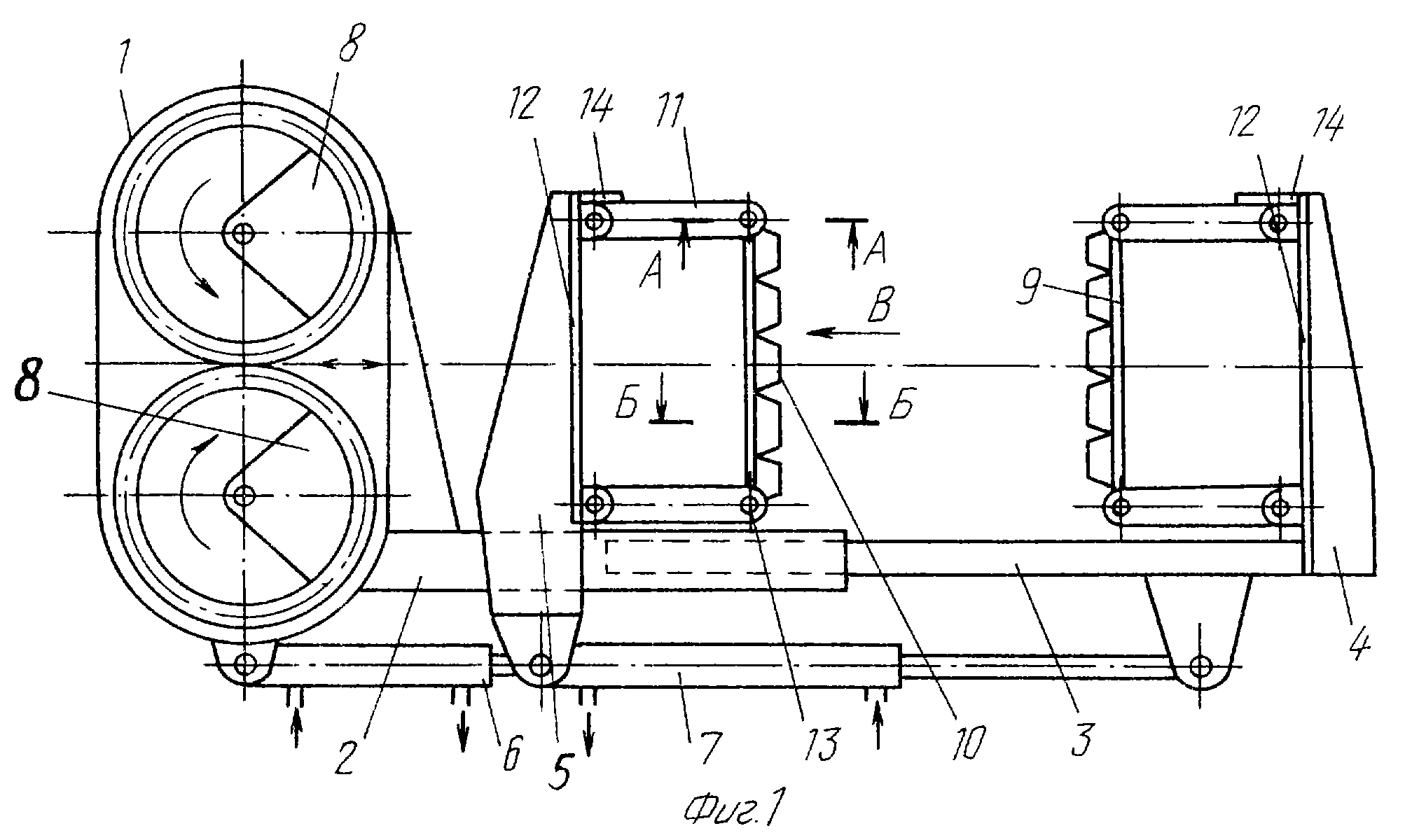
Изобретение относится к сельскохозяйственному машиностроению и предназначено для механизированной уборки плодовых культур. Зажимы выполнены в виде плоских лент из пружинистой стали с привулканизированными эластичными подушками, которые шарнирно опираются концами на упоры. Упоры закреплены на основаниях захватов с возможностью поворота во внутреннюю сторону. Изобретение позволяет предохранить кору деревьев от повреждений и упростить конструкцию устройства. 5 ил.
|